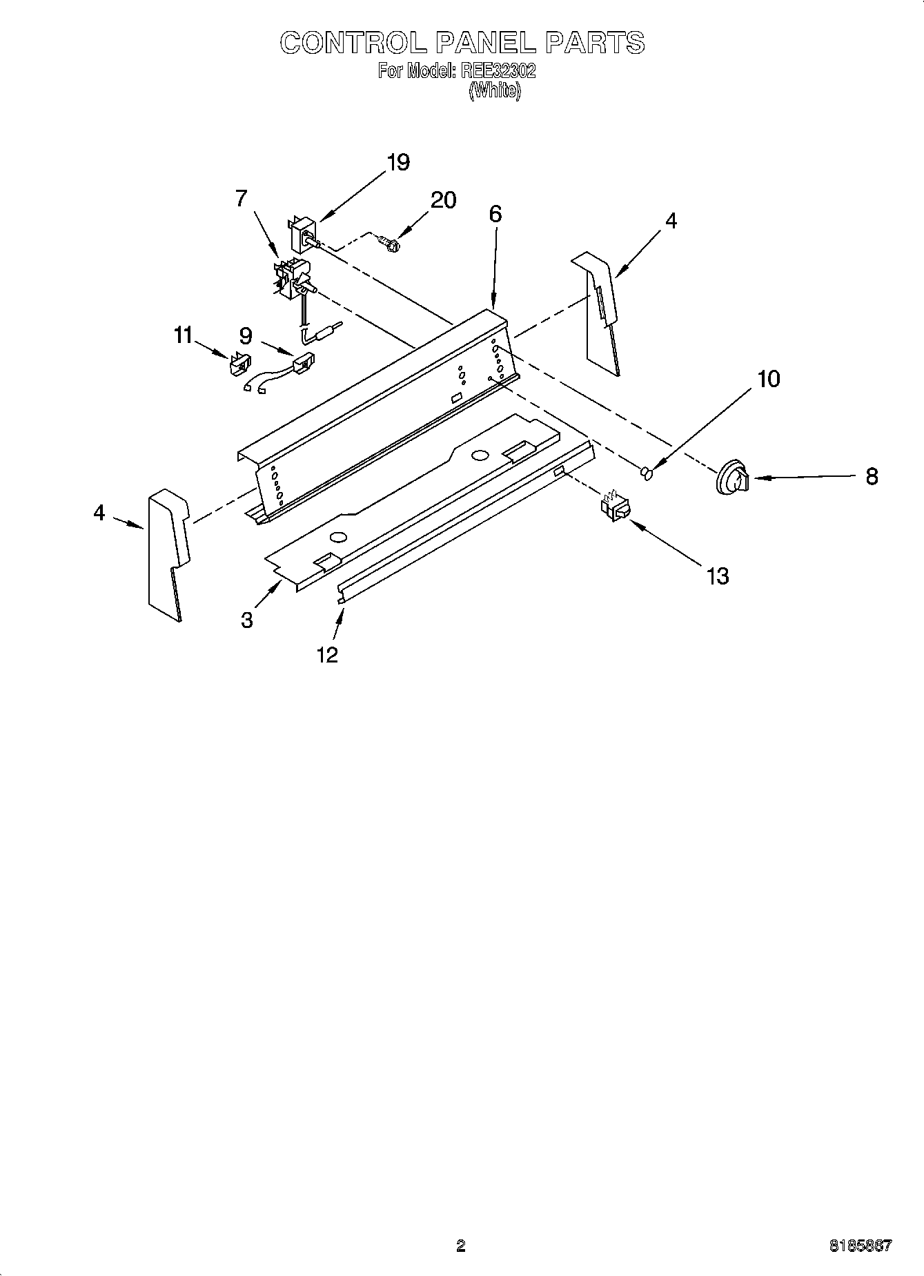
REE32302 02 – CONTROL PANEL PARTSadmin2025-04-26T08:46:01+00:00REE32302 02 – CONTROL PANEL PARTS ProductsPositionProduct3WP3400832 Whirlpool Screw3Base, Console4End Cap (Right)4End Cap (Left)6Panel, Control (Screw, (2) 8 x 3/8)6Panel, Control7Thermostat7Screw (2)8Knobs, Control (5)9Light, Indicator (Oven - Thermostat)10WP9750343 Whirlpool Light Lens11Light, Indicator (Surface Unit (2))12Trim Strip13Switch, Oven Light19WP9750641 Whirlpool Infinite Switch19WP9750638 Whirlpool Infinite Switch20WP3400882 Whirlpool Screw