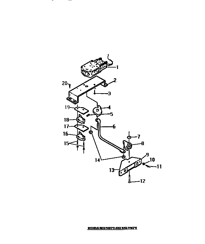
REG74BCB0 11 – DOOR LATCH MECHANISM