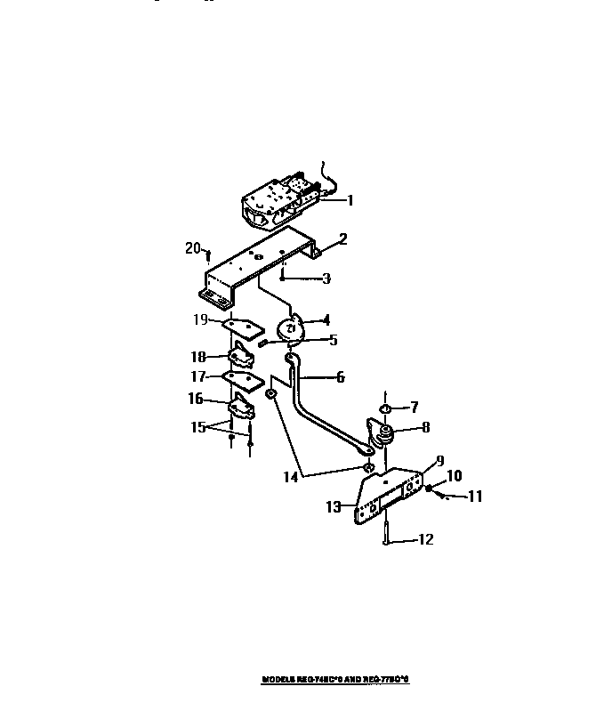
REG77BCB0 11 – DOOR LATCH MECHANISMadmin2025-04-26T08:47:24+00:00REG77BCB0 11 – DOOR LATCH MECHANISM ProductsPositionProduct1WCI 80030862WCI 80087803WCI 80147214WCI 80030885WCI 80030896WCI 80033667WCI 80030978WCI 80030969WCI 800869610WASHERS (2)11SCREWS (2)12PINS (2)13WCI 800336514WCI 800309915SCREWS (2)18WCI 800658219WCI 800309020SCREWS (2)