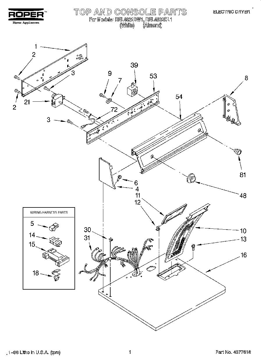
REL4632DW1 01 – SECTION