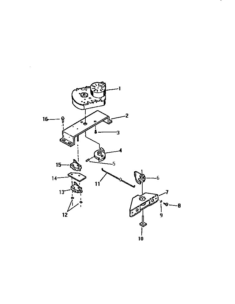
REP302CW1 07 – LATCH ASSEMBLYadmin2025-04-26T11:46:31+00:00REP302CW1 07 – LATCH ASSEMBLY ProductsPositionProduct1LATCH-MOTOR2WCI K51516134WCI K51516055WCI K51516066WCI K52602027HOUSING, DOOR LATCH8WCI K11645509WASHER, PADDED10AXLE11WCI K5271201125303013272 Frigidaire Oven Nut13WCI K515160814WCI K515160715WCI K51516091608002868 Frigidaire 0 Screw Assembly