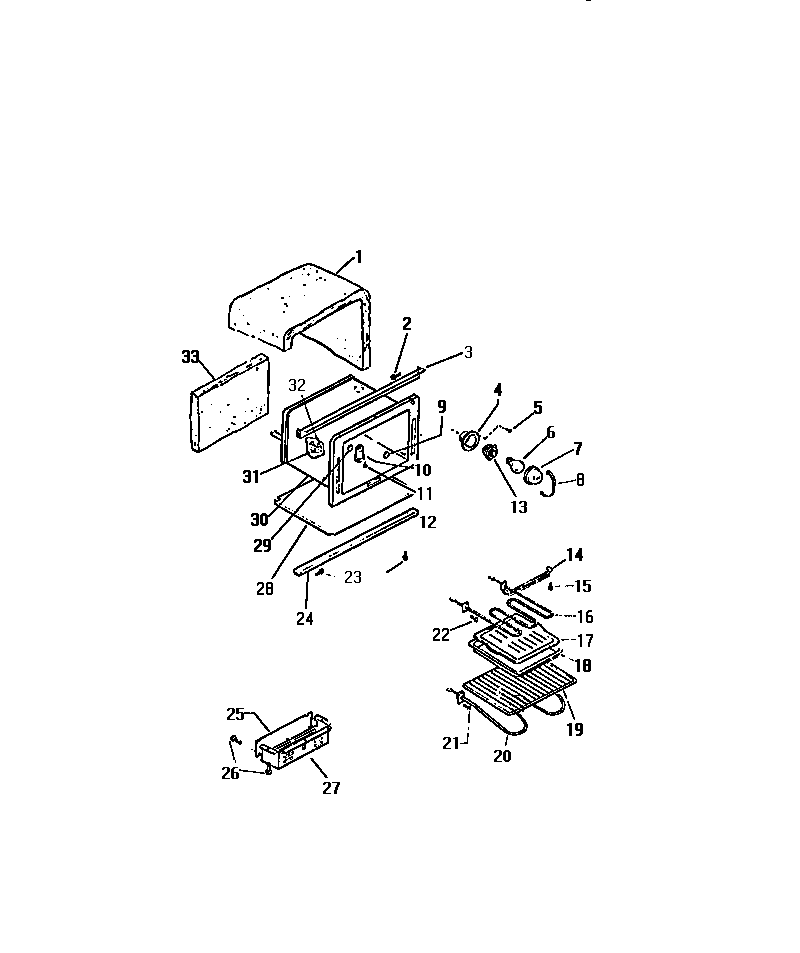
REP305CD0 05 – OVEN CAVITYadmin2025-04-26T11:49:49+00:00REP305CD0 05 – OVEN CAVITY ProductsPositionProduct1WCI K13113313WCI K13256364CUP, OVEN LT6316538904 Frigidaire Oven Lamp Light75304524341 Frigidaire Lens8RETAINING WIRE9PLUG-BUTTON 3/4``10VENT TUBE11SCREW13316116400 Frigidaire Oven Light Socket14HANGER165303051516 Frigidaire Broil Element17GRILLE, BROILER185304442087 Frigidaire Range Wall Oven Broil Pan and Insert19AWCI K513350119RACK (2)205303051519 Frigidaire Oven 2600W Bake Element23SCREW24CHANNEL, OV. SUPT.25WCI K130360127WCI K131512128WCI K131764429WCI KGM14201730WCI K132553831BRACKET THERM. BULB3208002868 Frigidaire 0 Screw Assembly33INSULATION-OVEN BACK