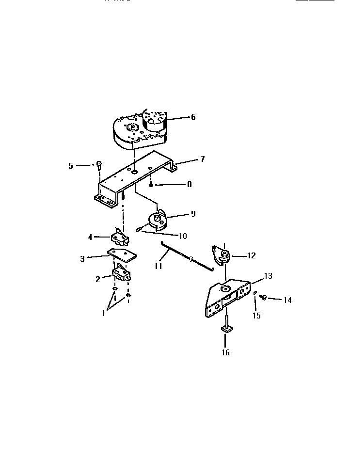
REP305CF1 07 – LATCH ASSEMBLYadmin2025-04-26T11:51:08+00:00REP305CF1 07 – LATCH ASSEMBLY ProductsPositionProduct15303013272 Frigidaire Oven Nut2WCI K51516083WCI K51516074WCI K51516096LATCH-MOTOR7WCI K5151613808002868 Frigidaire 0 Screw Assembly9WCI K515160510WCI K527120611WCI K527120112WCI K526020213HOUSING, DOOR LATCH14WCI K116455015WASHER, PADDED16AXLE