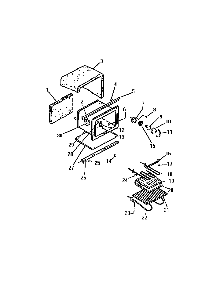
REP305CW1 05 – OVEN CAVITYadmin2025-04-26T11:49:21+00:00REP305CW1 05 – OVEN CAVITY ProductsPositionProduct1INSULATION-OVEN BACK3WCI K13113315WCI K13256366PLUG-BUTTON 3/4``7CUP, OVEN LT9316538904 Frigidaire Oven Lamp Light105304524341 Frigidaire Lens11RETAINING WIRE12VENT TUBE13SCREW15316116400 Frigidaire Oven Light Socket16HANGER17WCI K116447185303051516 Frigidaire Broil Element19GRILLE, BROILER205304442087 Frigidaire Range Wall Oven Broil Pan and Insert21RACK (2)21AWCI K5133501225303051519 Frigidaire Oven 2600W Bake Element2408002868 Frigidaire 0 Screw Assembly25SCREW26CHANNEL, OV. SUPT.27WCI K131764428WCI KGM14201729WCI K132553830BRACKET THERM. BULB