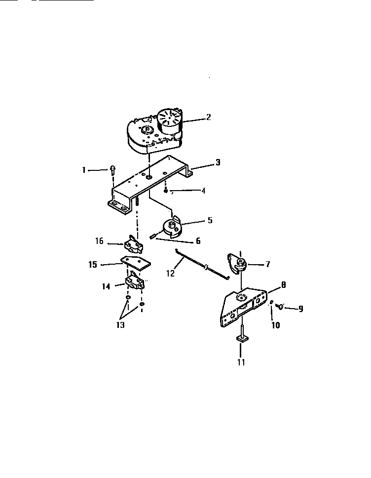
REP306CF1 07 – LATCH ASSEMBLYadmin2025-04-26T11:50:45+00:00REP306CF1 07 – LATCH ASSEMBLY ProductsPositionProduct2LATCH-MOTOR3WCI K5151613408002868 Frigidaire 0 Screw Assembly5WCI K51516056WCI K52712067WCI K52602028HOUSING, DOOR LATCH9WCI K116455010WASHER, PADDED11AXLE12WCI K5271201135303013272 Frigidaire Oven Nut14WCI K515160815WCI K515160716WCI K5151609