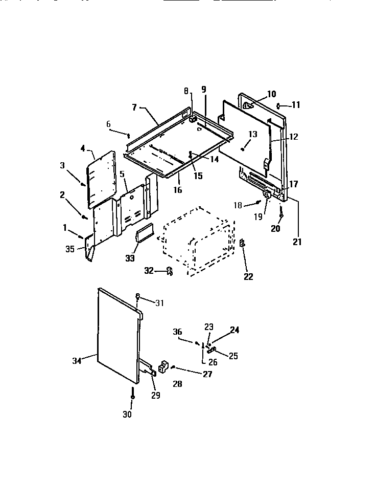
REP306CT1 06 – PANELS