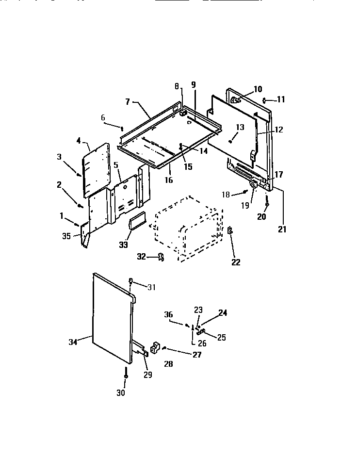
REP306CV1 06 – PANELS