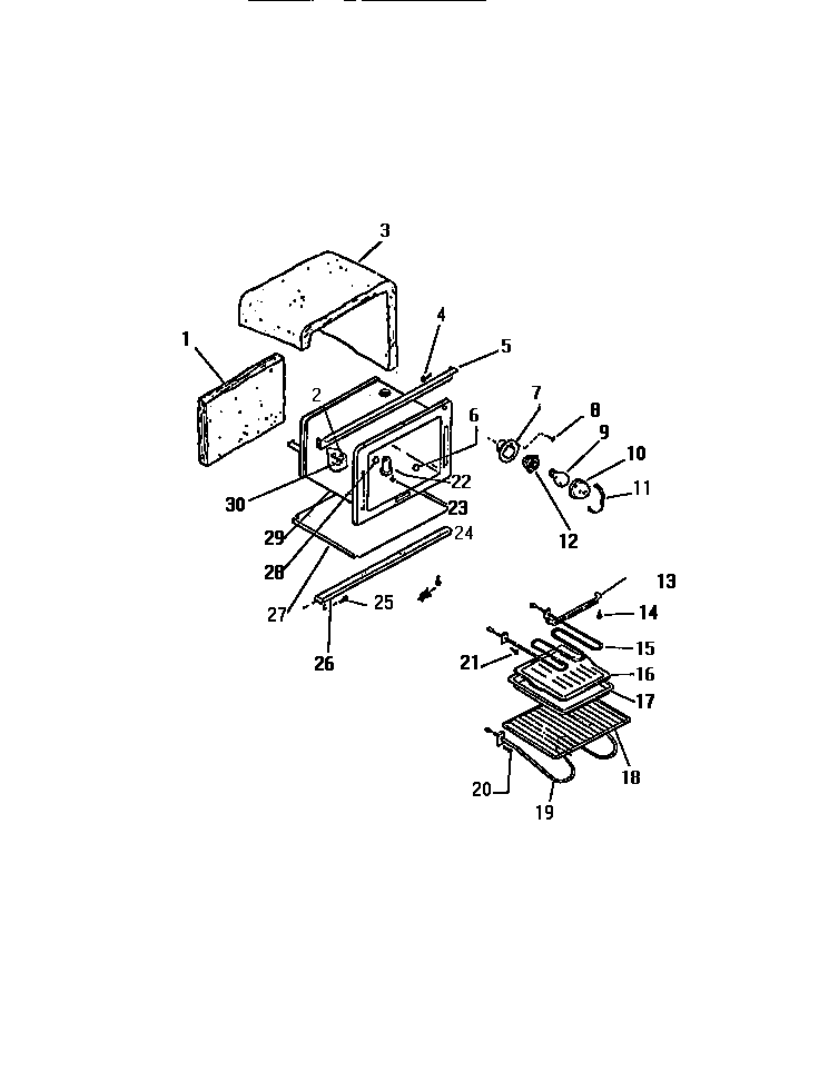
REP306CW1 05 – OVEN CAVITYadmin2025-04-26T11:51:29+00:00REP306CW1 05 – OVEN CAVITY ProductsPositionProduct1INSULATION-OVEN BACK4WCI K13113315WCI K13256366PLUG-BUTTON 3/4``7CUP, OVEN LT9316538904 Frigidaire Oven Lamp Light105304524341 Frigidaire Lens11RETAINING WIRE12316116400 Frigidaire Oven Light Socket13HANGER155303051516 Frigidaire Broil Element16GRILLE, BROILER175304442087 Frigidaire Range Wall Oven Broil Pan and Insert18AWCI K513350118RACK (2)195303051519 Frigidaire Oven 2600W Bake Element2108002868 Frigidaire 0 Screw Assembly22VENT TUBE23SCREW26CHANNEL, OV. SUPT.27WCI K527650228WCI KGM14201729WCI K132553830BRACKET THERM. BULB