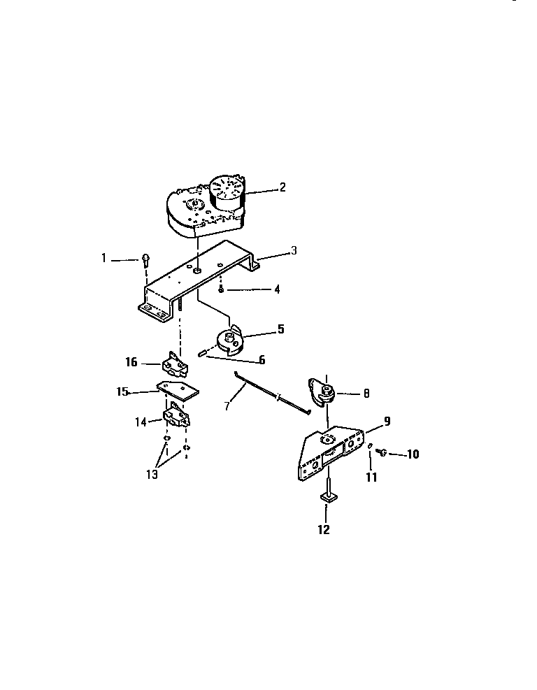
REP307CD3 07 – LATCH ASSEMBLY