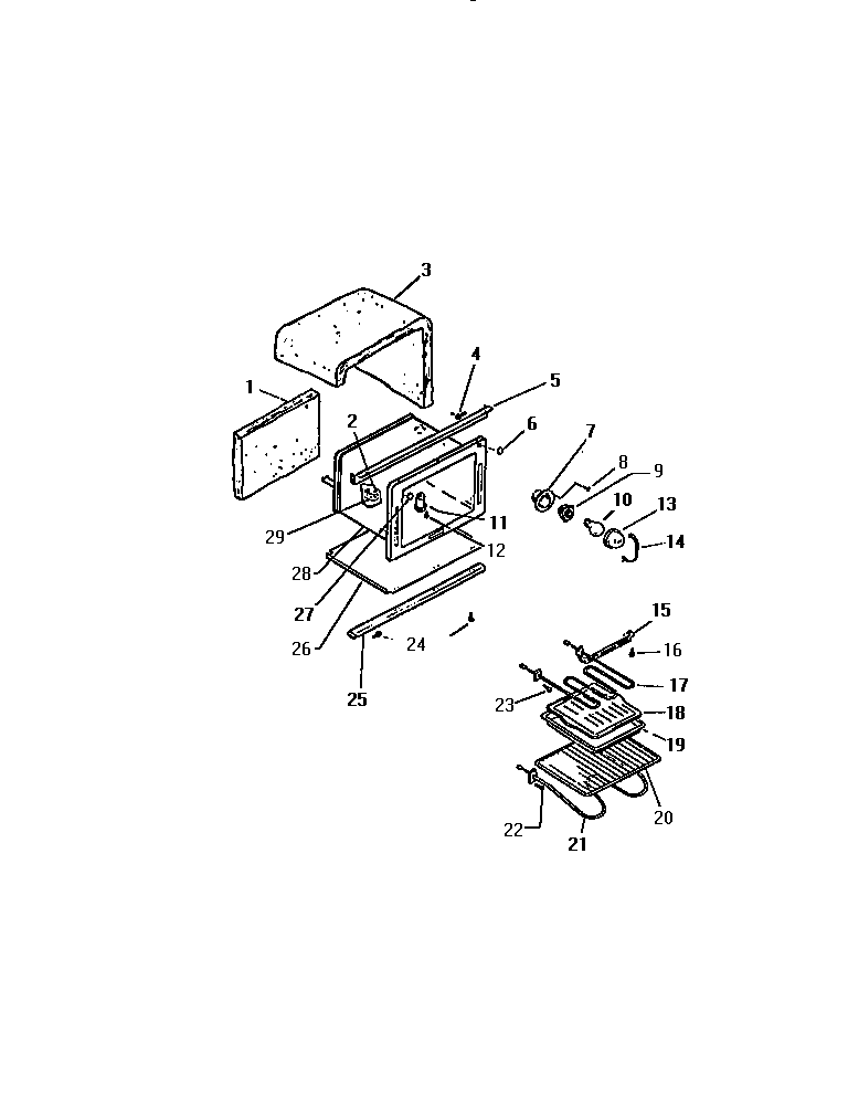
REP309CT1 05 – OVEN CAVITYadmin2025-04-26T11:51:51+00:00REP309CT1 05 – OVEN CAVITY ProductsPositionProduct*80042WCI K5011207*80041WCI K51335011INSULATION-OVEN BACK3WCI K13113315WCI K13256366WCI KGM140257CUP, OVEN LT9316116400 Frigidaire Oven Light Socket10316538904 Frigidaire Oven Lamp Light11VENT TUBE12SCREW135304524341 Frigidaire Lens14RETAINING WIRE15HANGER175303051516 Frigidaire Broil Element18GRILLE, BROILER195304442087 Frigidaire Range Wall Oven Broil Pan and Insert20RACK (2)215303051519 Frigidaire Oven 2600W Bake Element2308002868 Frigidaire 0 Screw Assembly24SCREW25CHANNEL, OV. SUPT.26WCI K131764427WCI KGM14201728WCI K132553829BRACKET THERM. BULB