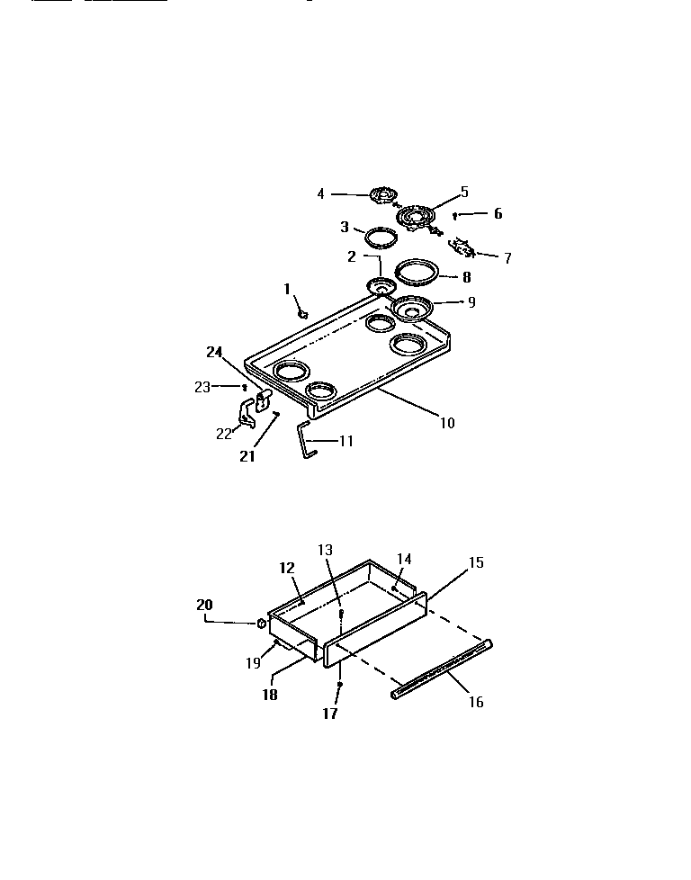
REP309CV1 03 – TOP/DRAWERadmin2025-04-26T11:49:55+00:00REP309CV1 03 – TOP/DRAWER ProductsPositionProduct1WCI K13155412WCI K13139663WCI K13076024318372211 Frigidaire Oven 6" Electric Range Burner Kit5316442301 Frigidaire Oven 8 Coil Element 2600W65308014215 Frigidaire Oven Screw75303935058 Frigidaire Oven Burner Receptacle Kit8WCI K13075999WCI K131396710WCI K527011011ARETAINER11BWCI K116455011ROD15WCI K132509816HANDLE - DRAWER (CHROME)175303013272 Frigidaire Oven Nut18DRAWER19SCREW20GUIDE22AWCI K131563122WCI K13156302308002868 Frigidaire 0 Screw Assembly24WCI K1315632