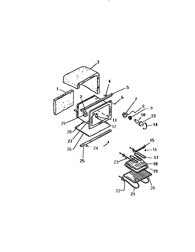
REP309CW1 05 – OVEN CAVITY