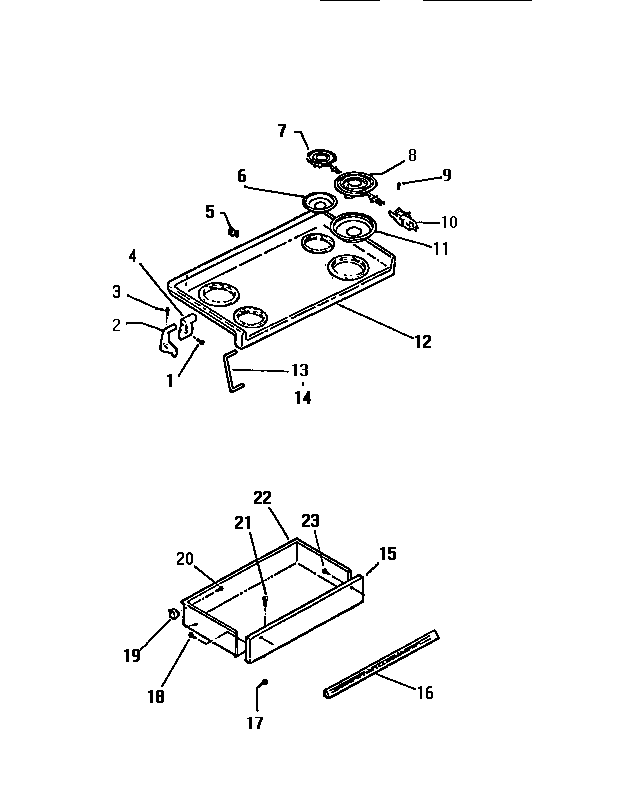
RER306CV0 03 – TOP DRAWER