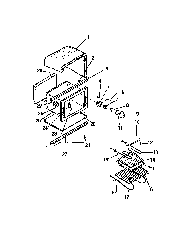
RER306CW0 05 – OVEN CAVITYadmin2025-04-26T11:49:39+00:00RER306CW0 05 – OVEN CAVITY ProductsPositionProduct1INSULATION, WRAP3CHANNEL-OVEN SUPT4WCI K52943015CUP, OVEN LT7316116400 Frigidaire Oven Light Socket8316538904 Frigidaire Oven Lamp Light9RETAINING WIRE10HANGER115304524341 Frigidaire Lens135303051516 Frigidaire Broil Element14GRILLE, BROILER155304442087 Frigidaire Range Wall Oven Broil Pan and Insert16RACK (2)175303051519 Frigidaire Oven 2600W Bake Element20WCI K131510721SCREW22CHANNEL, OV. SUPT.23SCREW24VENT TUBE25WCI K132553826BRACKET THERM. BULB2708002868 Frigidaire 0 Screw Assembly28INSULATION, BACK