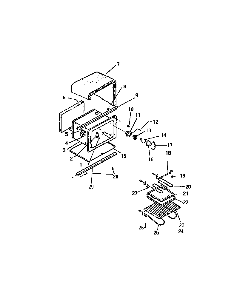
RER307CW0 05 – OVEN CAVITY