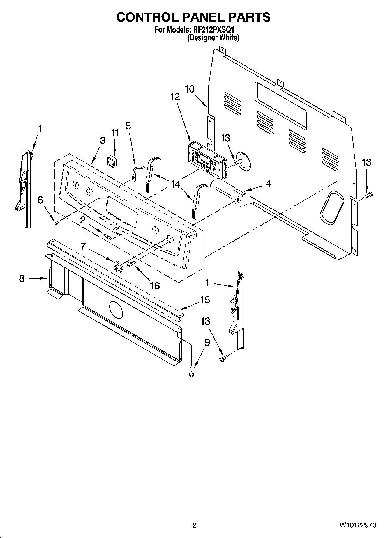
RF212PXSQ1 02 – CONTROL PANEL PARTSadmin2025-04-26T12:50:20+00:00RF212PXSQ1 02 – CONTROL PANEL PARTS ProductsPositionProduct1W11219365 Whirlpool Panel Endcap1W11219370 Whirlpool Endcap Panel2Nameplate3Panel, Console (White)4SWITCH-INF4WP3148952 Whirlpool Oven Infinite Switch5WP8523265 Whirlpool Indicator Light6WP3196068 Whirlpool Light Lens7WP9761962 Whirlpool Range Stove Burner Control Knob8Shield, Heat93196166 Whirlpool Screw10WP8272473 Whirlpool Rear Cover11WP8273564 Whirlpool Clip12WPW10108290 Whirlpool Electronic Control Board13SCREW14BRACKET, MOUNTING EOC15Bracket, Console16WP3400882 Whirlpool Screw