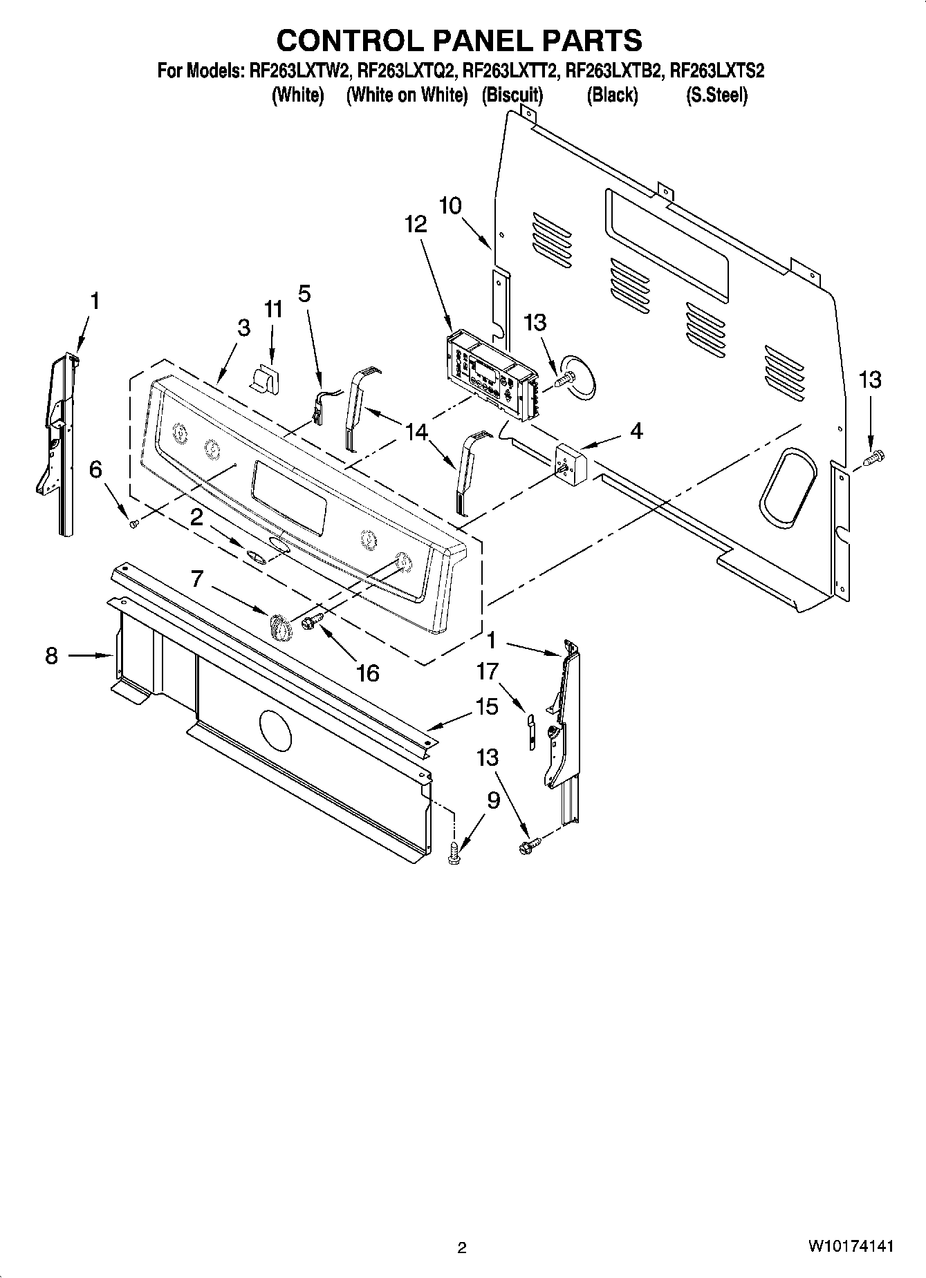
RF263LXTB2 02 – CONTROL PANEL PARTS