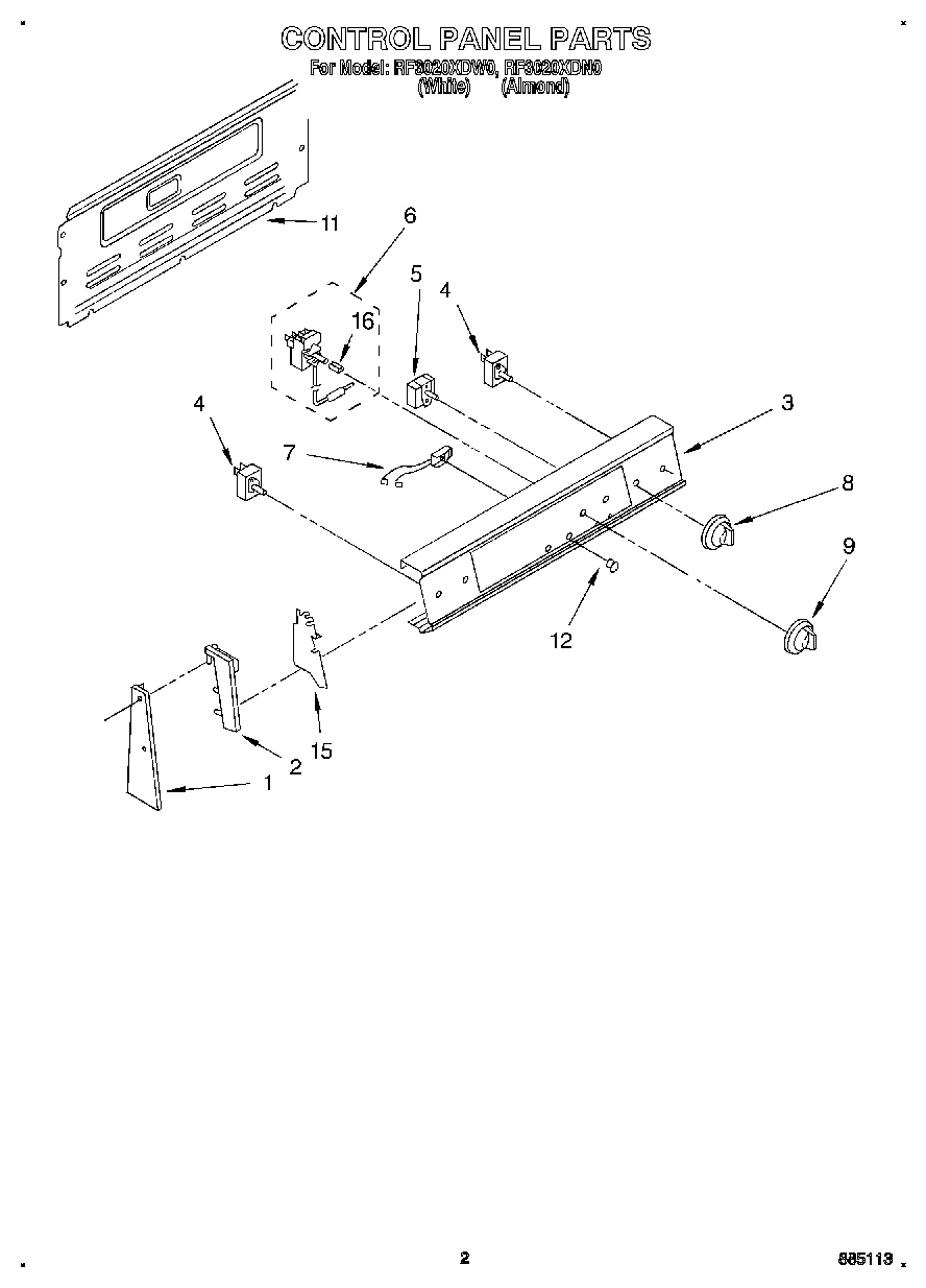
RF3020XDW0 02 – CONTROL PANEL