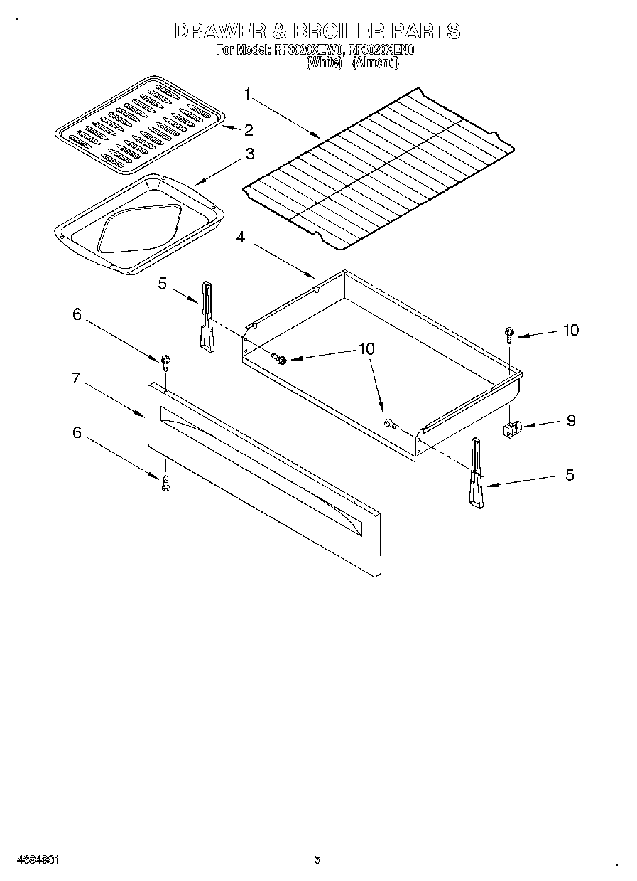
RF3020XEW0 04 – DRAWER AND BROILERadmin2025-04-26T12:53:05+00:00RF3020XEW0 04 – DRAWER AND BROILER ProductsPositionProduct1WPW10256908 Whirlpool Oven Range Rack2WP3195996 Whirlpool Pan Grid3WP3196076 Whirlpool Broil Pan4Drawer, Storage5W10838990 Whirlpool Mounting Bracket6Screw, Panel (2) (Almond)63196558 Whirlpool Oven Screw6W11169708 Whirlpool Screw7W11219377 Whirlpool Drawer Panel7Panel, Drawer Front (Almond)9WP8053334 Whirlpool Drawer Glide10WP3400832 Whirlpool Screw