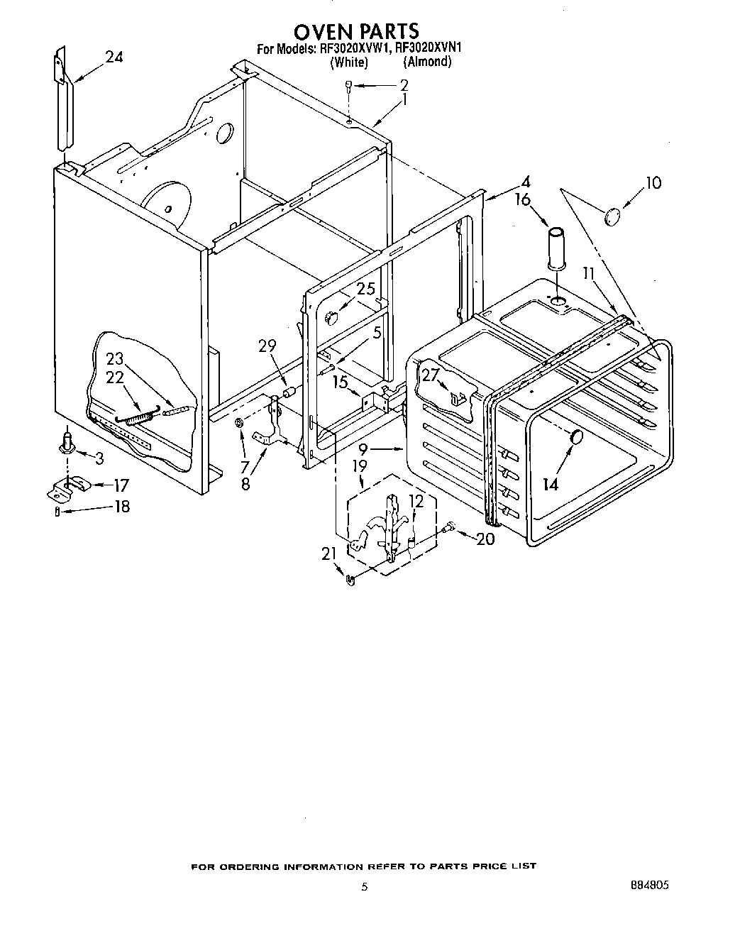
RF3020XVN1 05 – OVEN