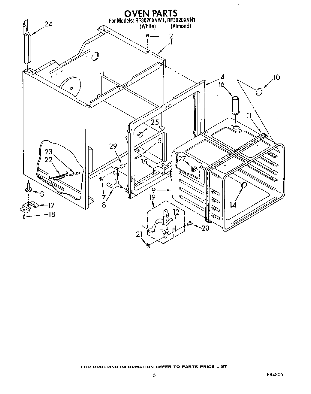
RF3020XVW1 05 – OVEN