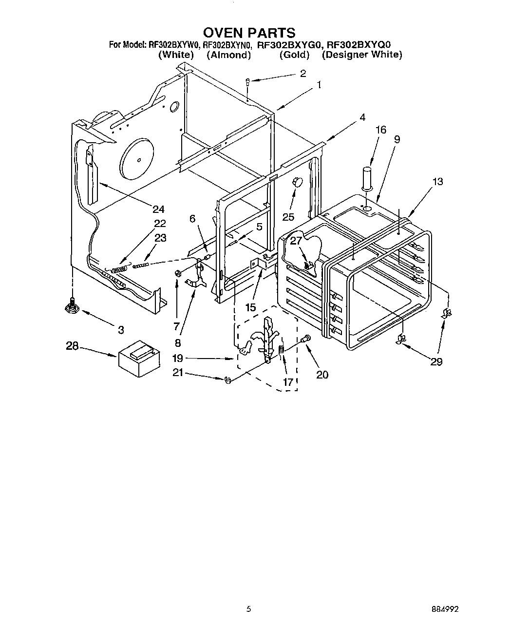
RF302BXYN0 05 – OVEN