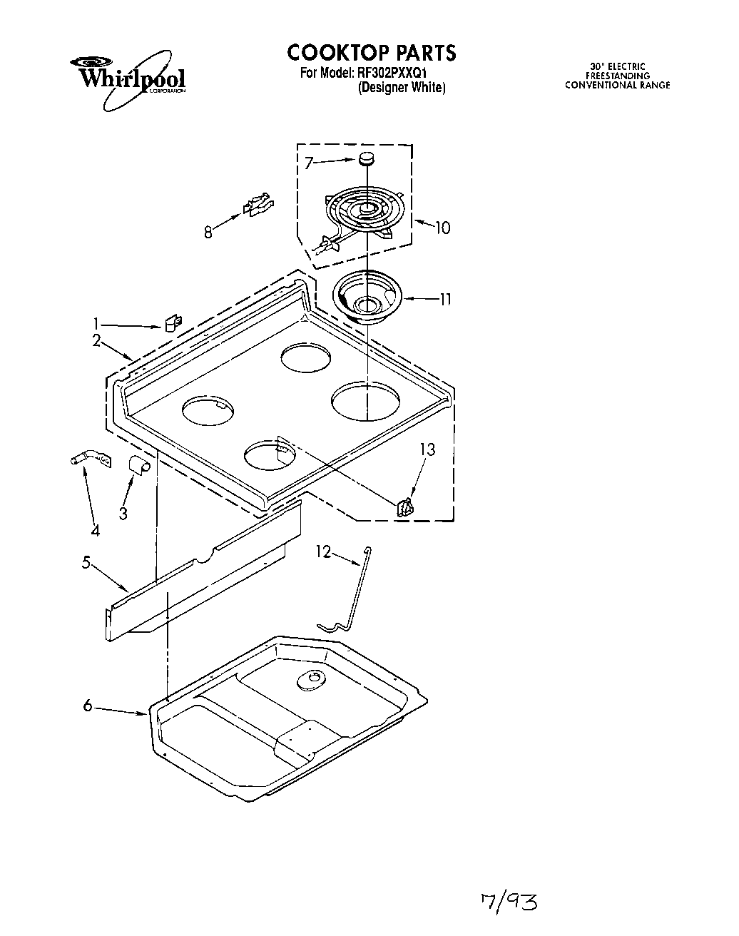
RF302PXXQ1 01 – COOKTOP