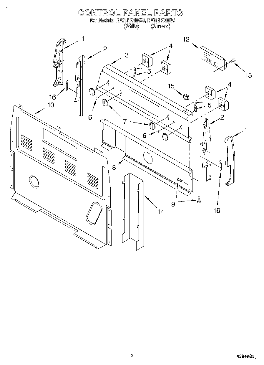
RF315PXEW0 02 – CONTROL PANEL