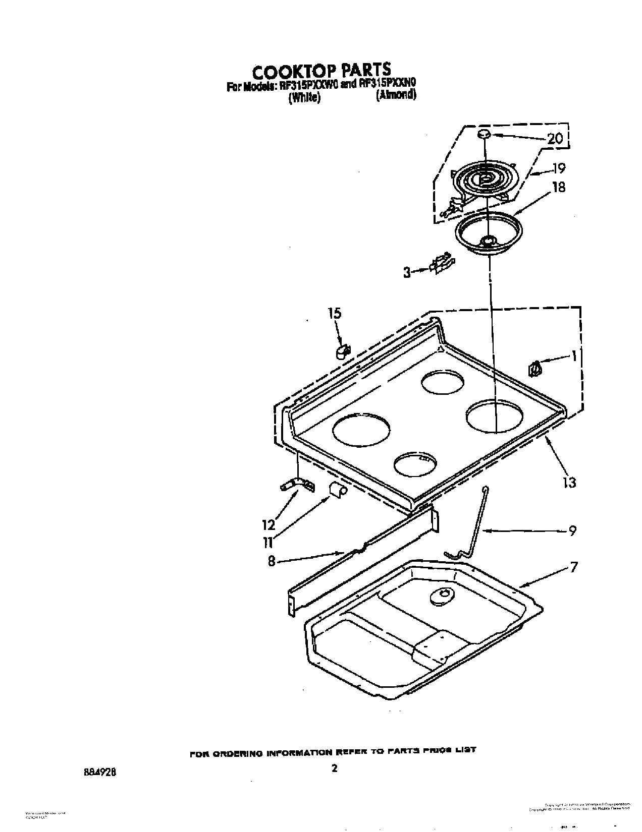
RF315PXXW0 02 – COOKTOP