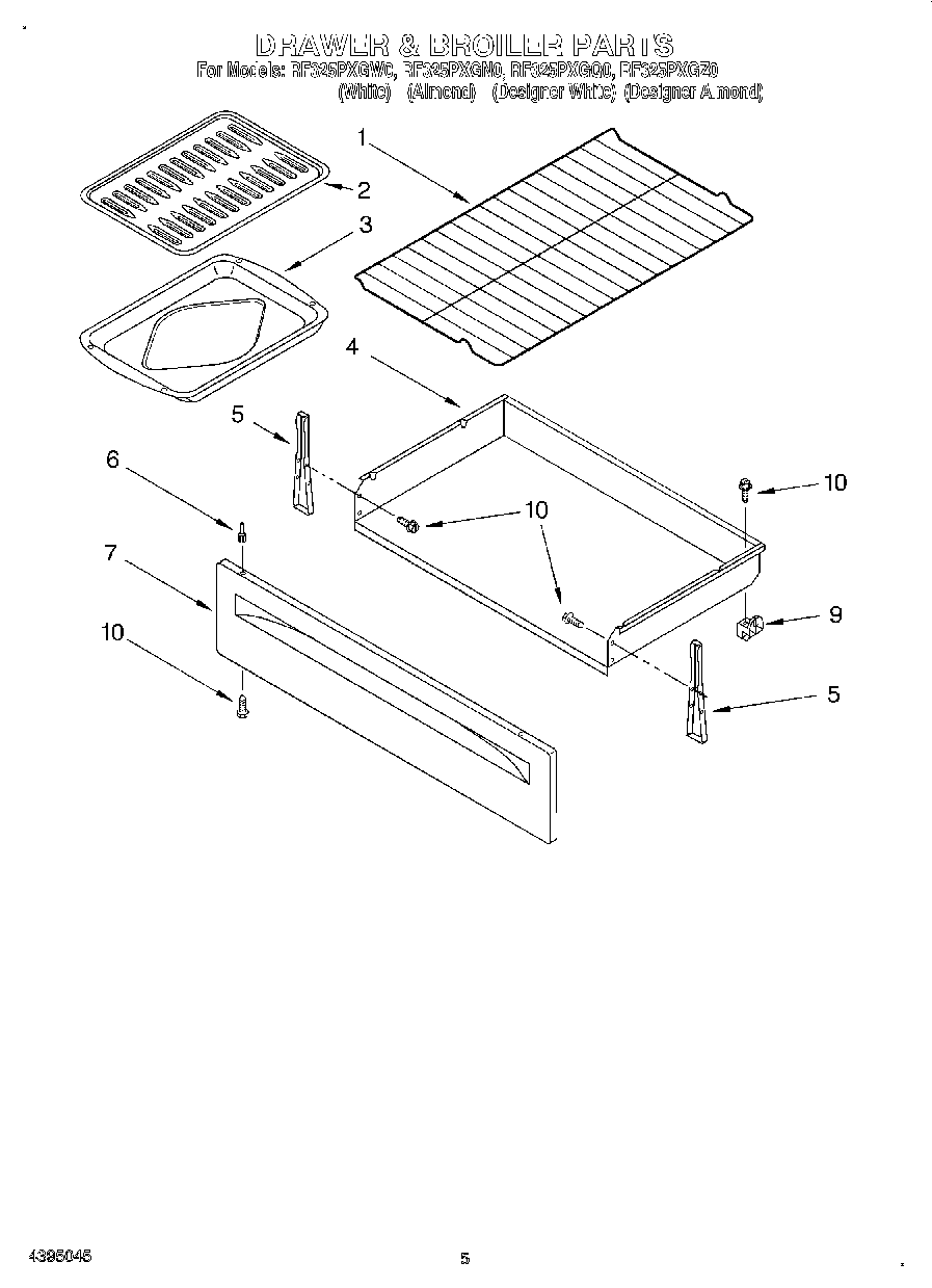
RF325PXGN0 04 – DRAWER & BROILERadmin2025-04-26T11:10:59+00:00RF325PXGN0 04 – DRAWER & BROILER ProductsPositionProduct1WPW10256908 Whirlpool Oven Range Rack2WP3195996 Whirlpool Pan Grid3WP3196076 Whirlpool Broil Pan4Drawer, Storage5W10838990 Whirlpool Mounting Bracket63196815 Whirlpool Oven Rivet6WP3196814 Whirlpool Rivet7W11219377 Whirlpool Drawer Panel7Panel, Drawer Front (Almond)9WP8053334 Whirlpool Drawer Glide10WP3400832 Whirlpool Screw