| List, Parts |
| WPL LIT3148537 |
| Instructions, Installation |
| WPL LIT313358 |
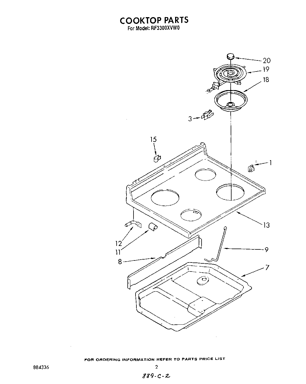
| WP660533 Whirlpool Oven 8" Surface Element |
| 1 | Nut (4) |
| 1 | 814103 Whirlpool Clip |
| 1 | WP487887 Whirlpool Refrigerator Screw |
| 3 | WP313808 Whirlpool Screw |
| 3 | WP4332752 Whirlpool Clip |
| 7 | WP3390631 Whirlpool Screw |
| 7 | Box, Burner |
| 8 | Shield, Wiring |
| 9 | Rod, Cooktop |
| 11 | Bracket, Cooktop (2) |
| 12 | Pin, Cooktop (2) |
| 13 | Cooktop (Almond) |
| 13 | Cooktop (White) |
| 15 | WP308605 Whirlpool Refrigerator Clamp |
| 15 | SCREW |
| 18 | WPW10196406 Whirlpool 6" Chrome Drip Bowl |
| 18 | DRIP BOWL 8" W/HOLE CHROME |
| 19 | WP660532 Whirlpool Oven Surface Element |
| 20 | Medallion (4) |