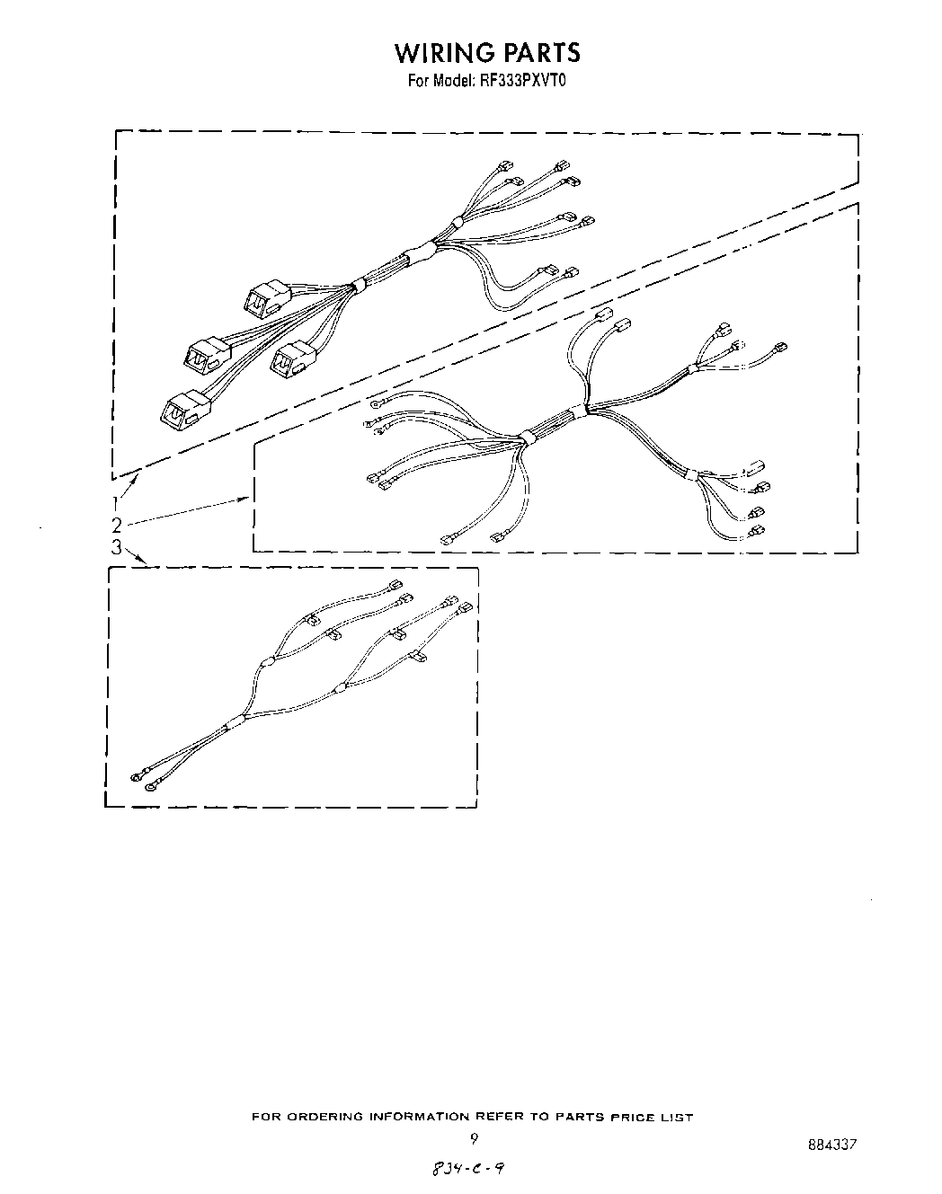
RF333PXVT0 07 – WIRINGadmin2025-04-26T11:08:30+00:00RF333PXVT0 07 – WIRING ProductsPositionProduct1Harness, Wire (Surface unit)2Harness, Wire (Oven)3Harness, Wire (Main)