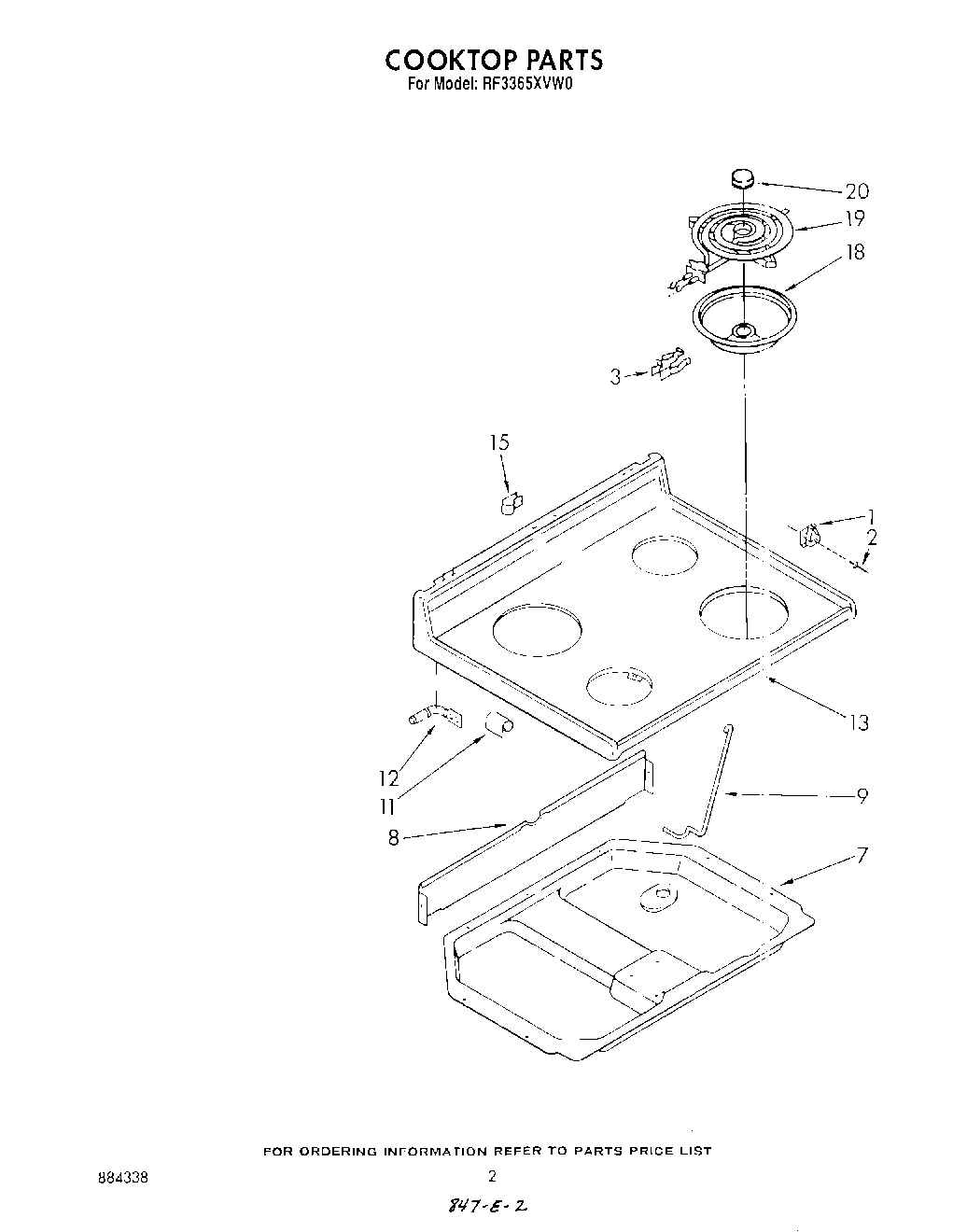
RF3365XVW0 02 – COOK TOP