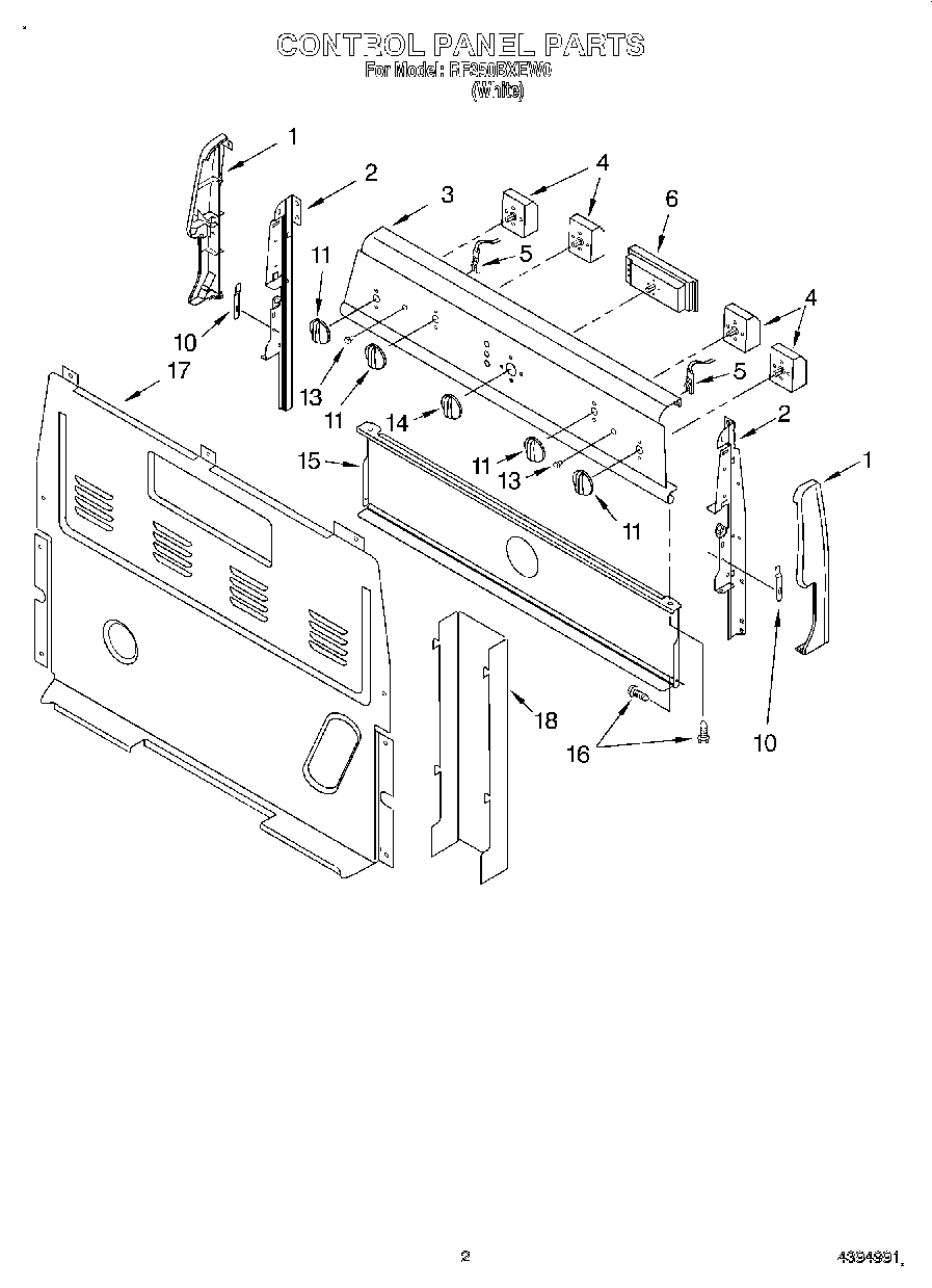
RF350BXEW0 02 – CONTROL PANEL