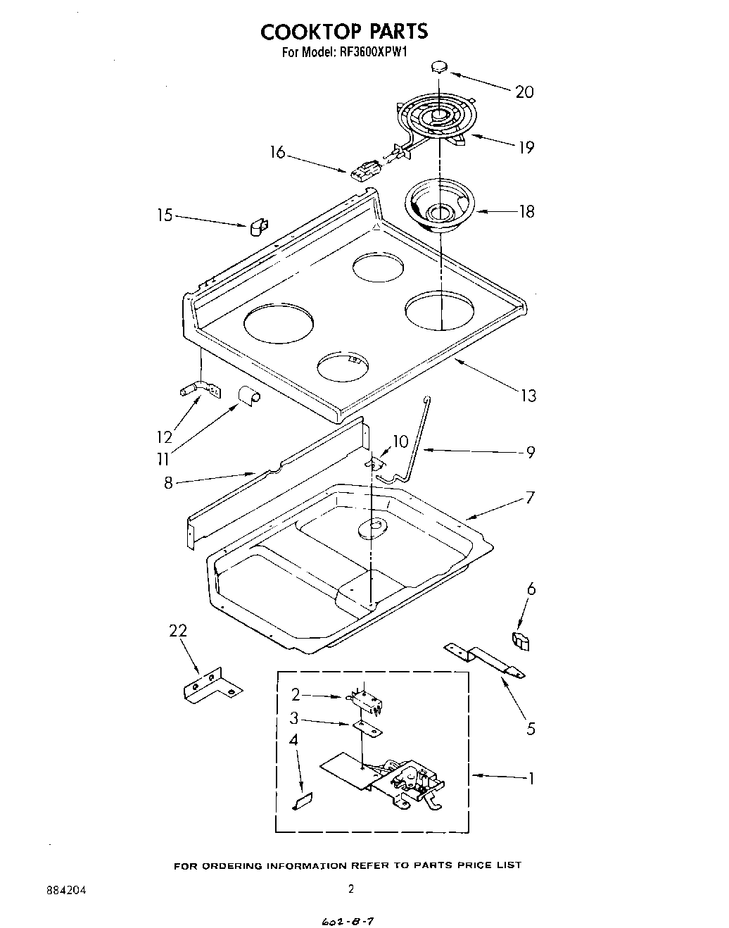
RF3600XPW1 02 – COOKTOP