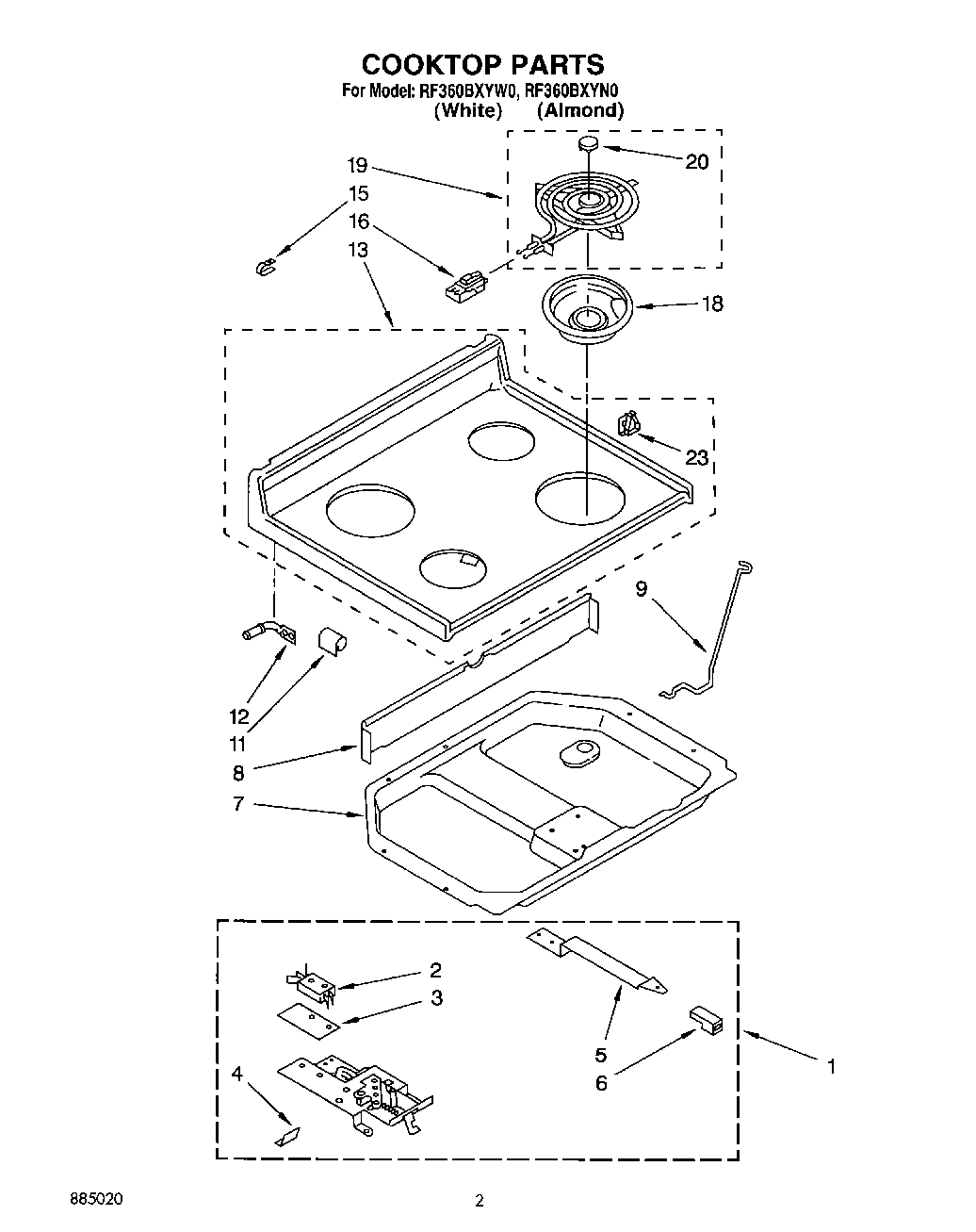
RF360BXYN0 02 – COOKTOP, LIT/OPTIONAL