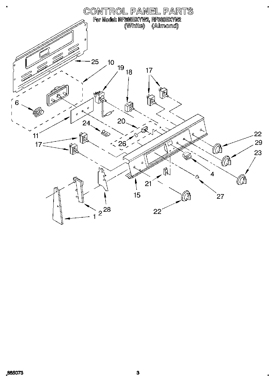
RF360BXYN2 02 – CONTROL PANEL