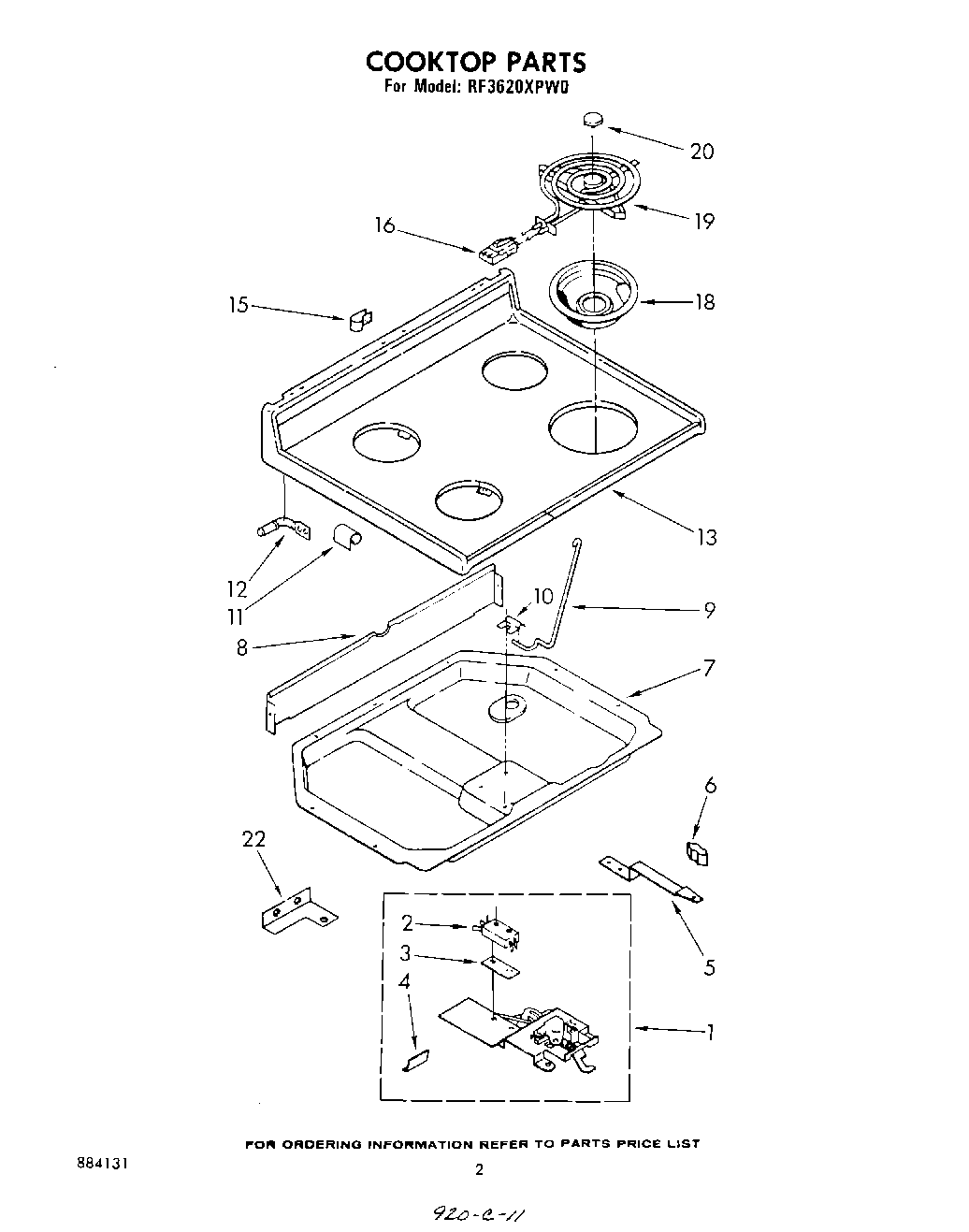
RF3620XPW0 02 – COOK TOP