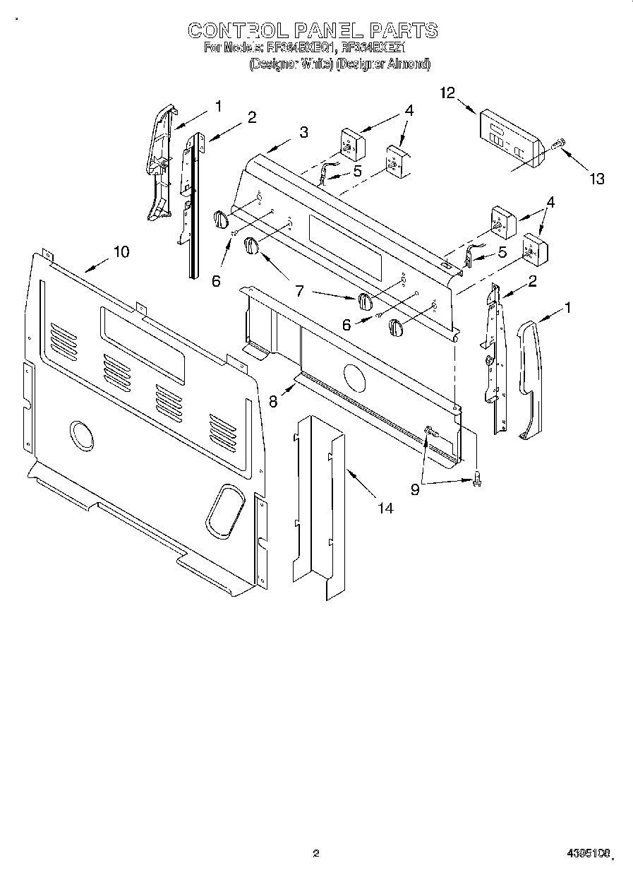
RF364BXEQ1 02 – CONTROL PANELadmin2025-04-26T12:46:58+00:00RF364BXEQ1 02 – CONTROL PANEL
Products
| Position | Product |
|---|
| 1 | Endcap (Almond Right Hand) |
| 1 | Endcap (White Left Hand) |
| 1 | Endcap (White Right Hand) |
| 1 | Endcap (Almond Left Hand) |
| 2 | Support, Endcap (Left Hand) |
| 2 | Support, Endcap (Right Hand) |
| 3 | Panel, Backguard (Almond) |
| 3 | Panel, Backguard (White) |
| 4 | SWITCH-INF |
| 4 | WP3148952 Whirlpool Oven Infinite Switch |
| 4 | Switch, Infinite (Screw (8)) |
| 5 | Light, Indicator (Surface Unit (2)) |
| 6 | WP3196068 Whirlpool Light Lens |
| 7 | Knob, Infinite (4) (Almond) |
| 7 | WP3196232 Whirlpool Knob |
| 8 | Shield, Heat |
| 9 | Screw |
| 10 | WP8272473 Whirlpool Rear Cover |
| 12 | Control, Range (White) |
| 12 | Control, Range (Almond) |
| 14 | WPW10326122 Whirlpool Black Cover |
| 14 | SCREW |