| WP660533 Whirlpool Oven 8" Surface Element |
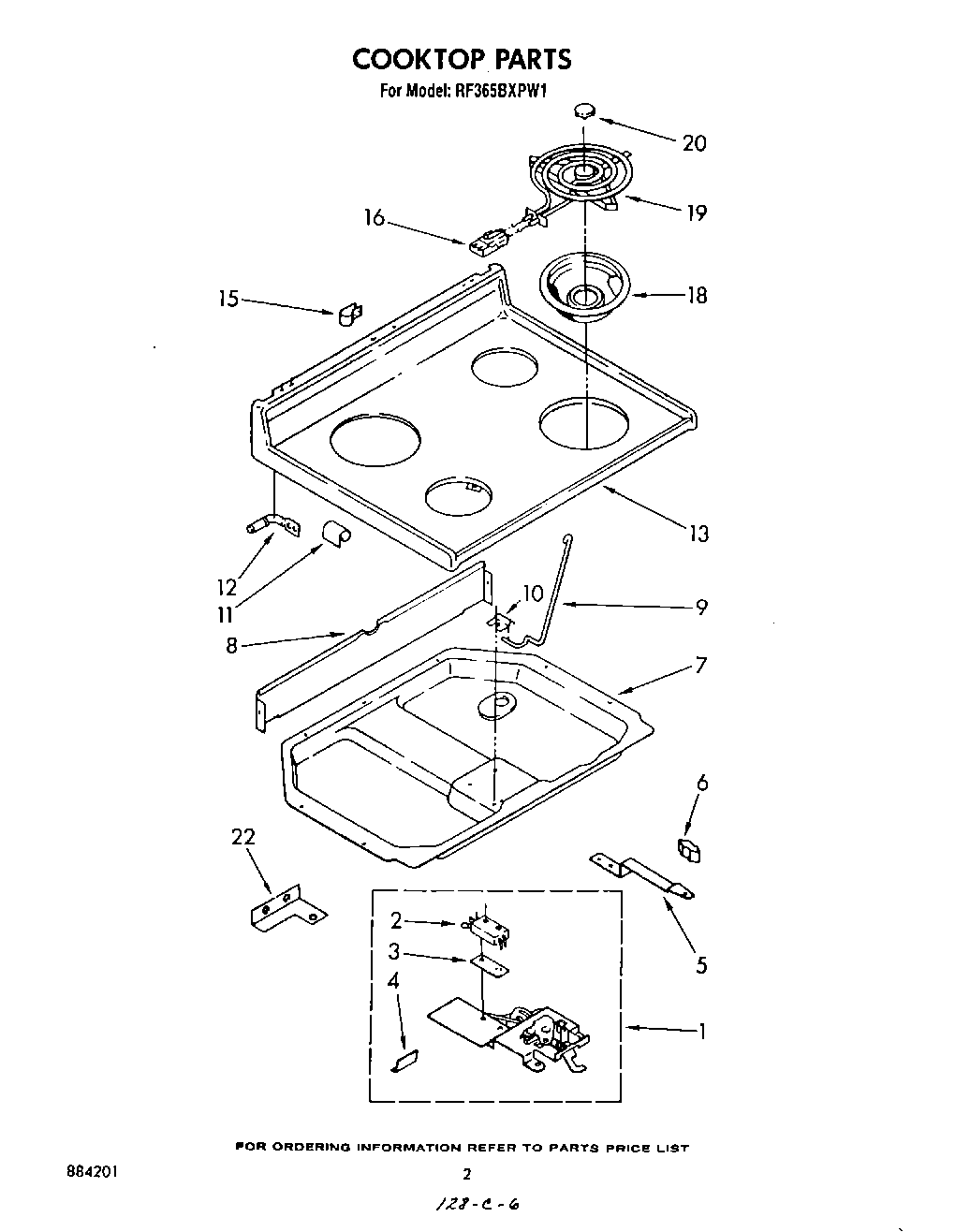
| 1 | Latch Assembly |
| 2 | Safety Switch |
| 2 | Screw |
| 3 | Insulator, Switch |
| 4 | Shield, Latch |
| 4 | Screw |
| 5 | Screw (3) |
| 5 | WP488627 Whirlpool Refrigerator Screw |
| 5 | Screw |
| 5 | Handle, Latch |
| 6 | Knob, Latch |
| 7 | Burner Box |
| 8 | Shield, Wiring |
| 9 | Rod, Cooktop |
| 10 | Retainer, Cooktop |
| 10 | WP3390631 Whirlpool Screw |
| 11 | Bracket, Cooktop (2) |
| 12 | Pin, Cooktop (2) |
| 13 | Cooktop (Harvest Gold) |
| 13 | Cooktop (White) |
| 13 | Cooktop (Almond) |
| 13 | Cooktop (Toast) |
| 13 | Cooktop (Platinum) |
| 15 | SCREW |
| 15 | WP308605 Whirlpool Refrigerator Clamp |
| 16 | WP313808 Whirlpool Screw |
| 16 | BURNER RECEPTACLE KIT |
| 18 | WPW10196406 Whirlpool 6" Chrome Drip Bowl |
| 18 | DRIP BOWL 8" W/HOLE CHROME |
| 19 | WP660532 Whirlpool Oven Surface Element |
| 20 | Medallion (4) |
| 22 | Screw, 10A x 1/2 (2) (Black) |
| 22 | WPL 312320 |