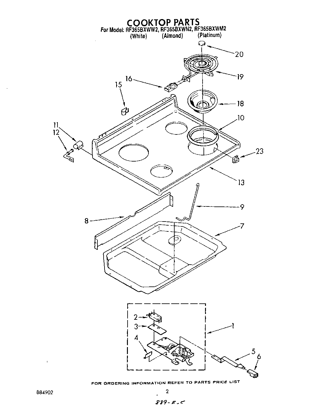
RF365BXWW2 02 – COOKTOP