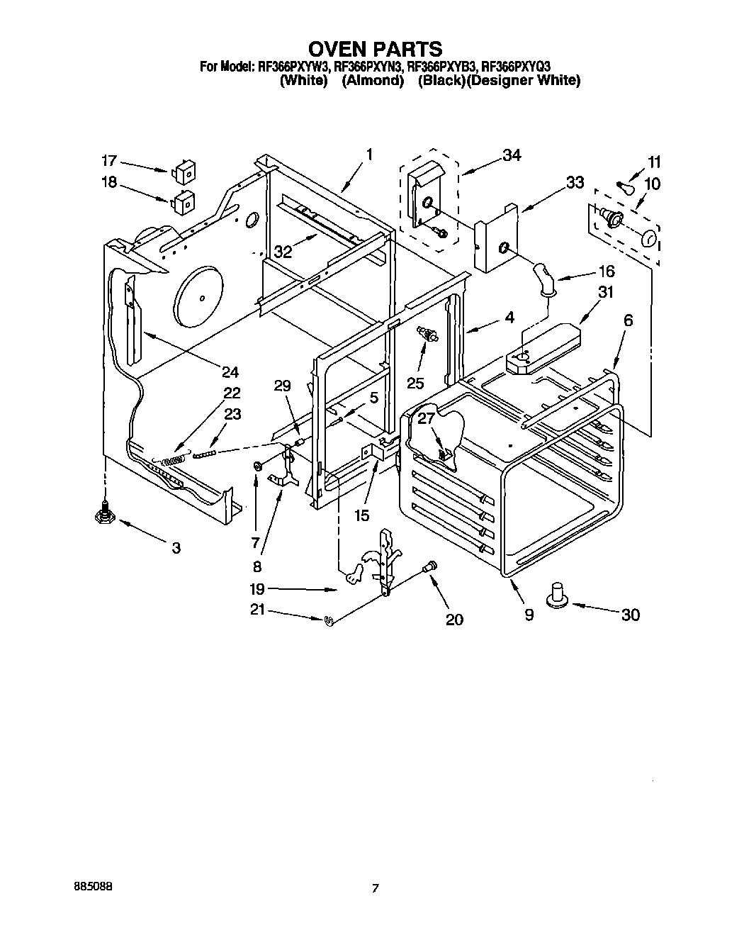
RF366PXYN3 04 – OVEN