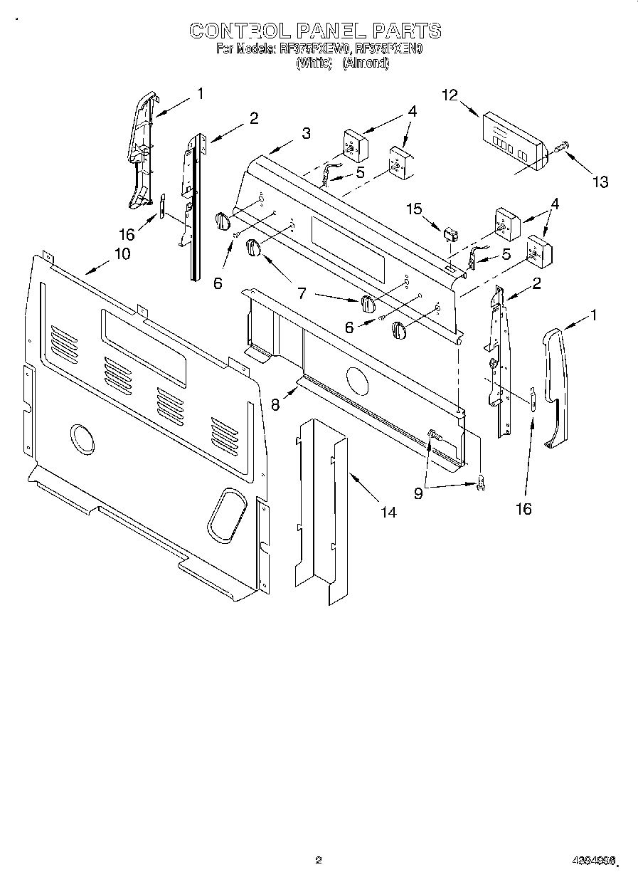
RF375PXEN0 02 – CONTROL PANEL