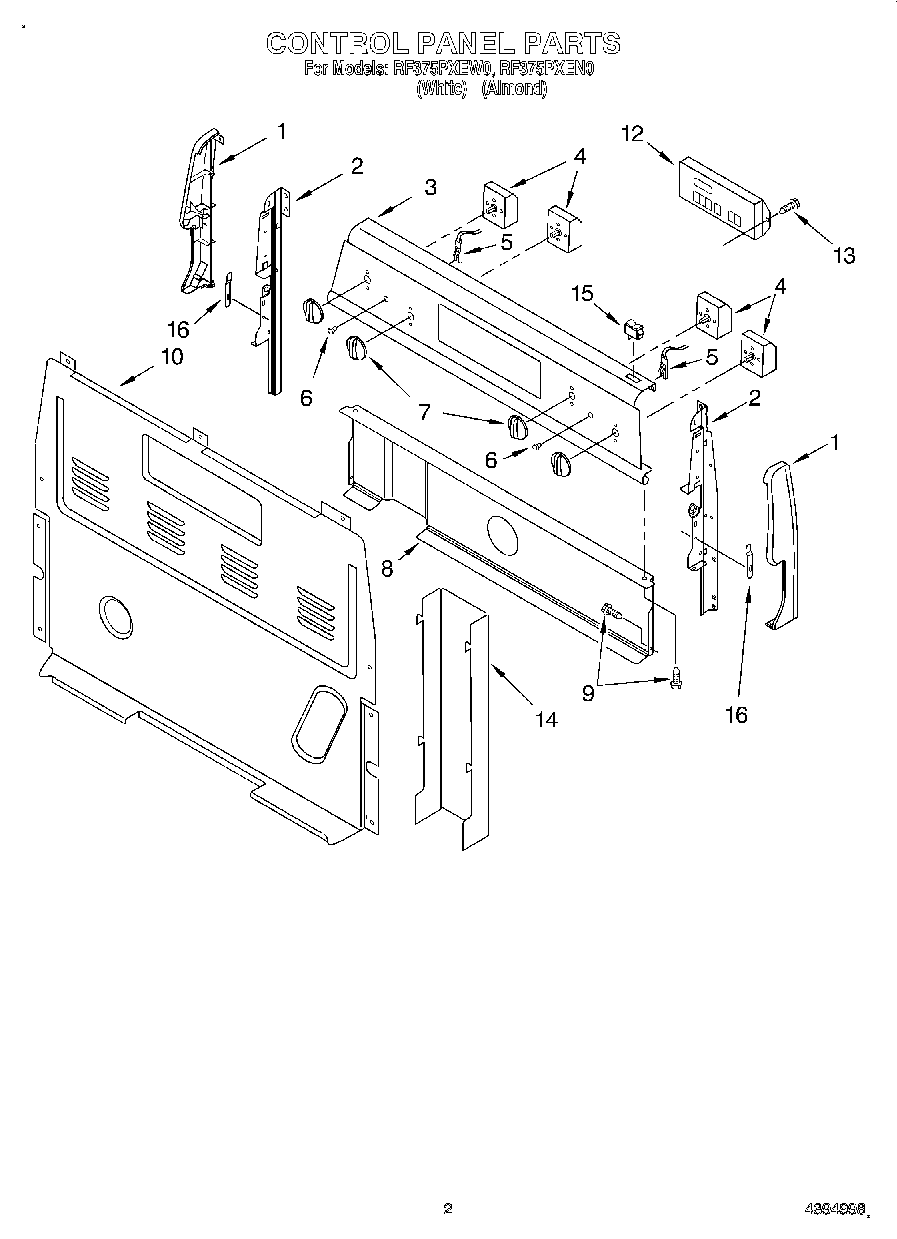
RF375PXEW0 02 – CONTROL PANELadmin2025-04-26T12:22:00+00:00RF375PXEW0 02 – CONTROL PANEL ProductsPositionProduct1Endcap (Black Left Hand)1Endcap, Right Hand (Black)2Support, Endcap (Left Hand)2Support, Endcap (Right Hand)3Panel, Backguard (Black)4WP3148952 Whirlpool Oven Infinite Switch4WP3149400 Whirlpool Oven Infinite Switch4Switch, Infinite (Screw (8))5Light, Indicator (Surface Unit (2))6WP3196068 Whirlpool Light Lens7WP3196231 Whirlpool Knob8Shield, Heat9Screw10WP8272473 Whirlpool Rear Cover12Control, Range14WPW10326122 Whirlpool Black Cover14SCREW15WP4314961 Whirlpool Lite Switch163196200 Whirlpool Clip