RF376PCYW4 02 – CONTROL PANELadmin2025-04-26T12:23:52+00:00RF376PCYW4 02 – CONTROL PANEL
Products
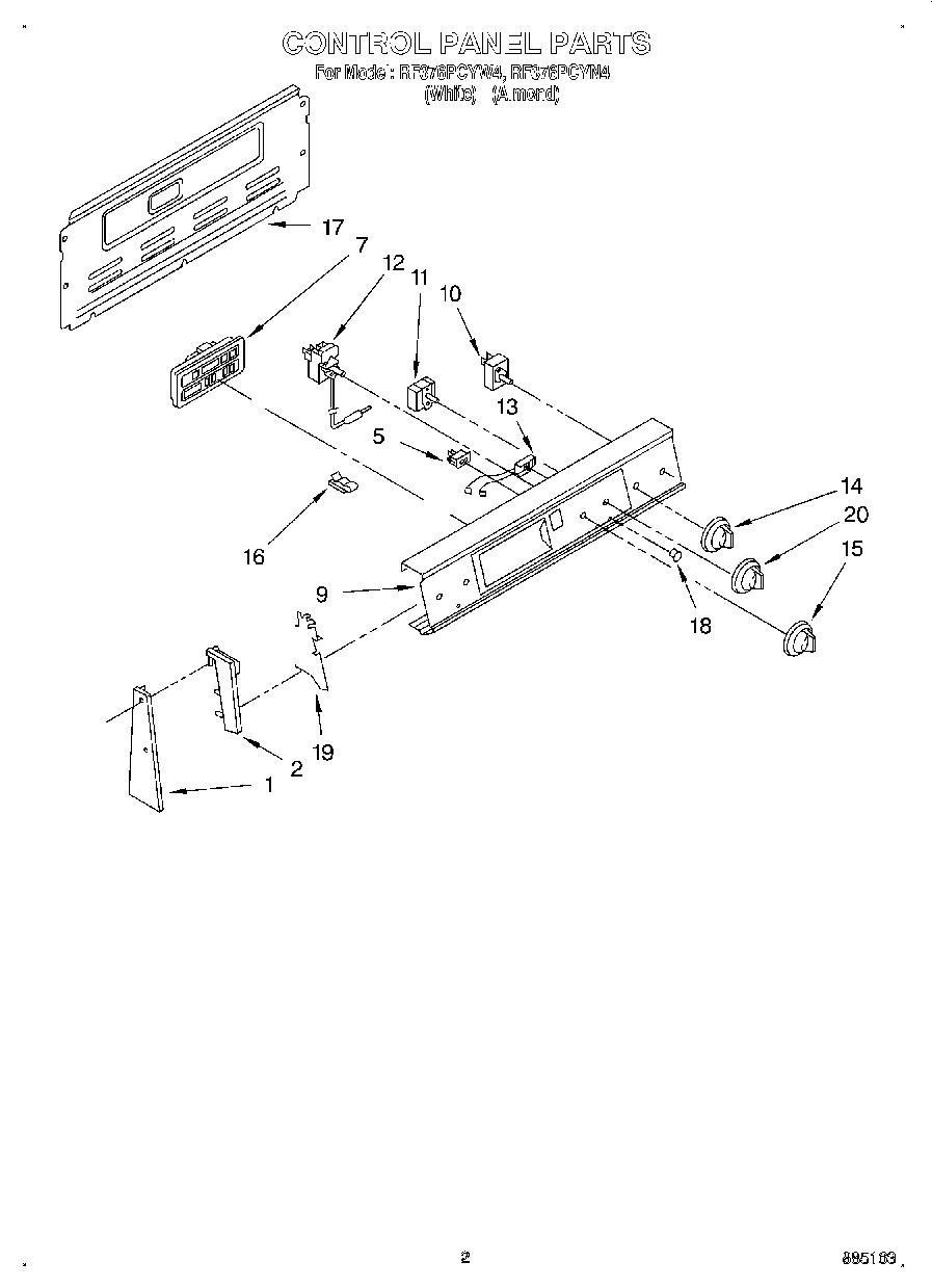
| Position | Product |
|---|
| 1 | Screw 10-32x1`` |
| 1 | Screw 10-32x7/16`` |
| 2 | End Cap R.H. |
| 2 | End Cap L.H. |
| 2 | Screw, |
| 5 | Switch, Rocker |
| 7 | Timer, Electronic |
| 9 | Panel, Control |
| 9 | Washer |
| 10 | Screw, 8-32 x 3/16 (2) |
| 10 | WP3148952 Whirlpool Oven Infinite Switch |
| 10 | WP3148955 Whirlpool Infinite Switch |
| 11 | Switch, Selector |
| 12 | WP313808 Whirlpool Screw |
| 12 | Thermostat, 0ven Pyro |
| 13 | Light, Indicator |
| 13 | Light, Indicator (250V) |
| 14 | Knob, (4) Infinite Switch (White/Almond/Gold) |
| 15 | Knob, Temp |
| 16 | Clip, Tube |
| 17 | Rear Cover Contr |
| 17 | SCREW |
| 18 | Lens, Amber |
| 19 | Shield (2) |
| 19 | WP965173 Whirlpool Dishwasher Screw |
| 20 | Knob (Selector) |