| WPL 8053623 |
| 3400964 Whirlpool Oven Clip |
| Clip, Ground Wire |
| 3196696 Whirlpool Clip |
| W11244557 Whirlpool Screw |
| 3184020 Whirlpool Oven Wire |
| WP3196154 Whirlpool Screw Assembly |
| Literature Parts (Guide, Use & Care) |
| Harness, Wire (Door Switch) |
| Literature (Instruction, Installation) |
| Literature Parts (Tech Sheet) |
| W11396691 Whirlpool Element Receptacle and Wire Kit |
| WPL 3196697 |
| 814381 Whirlpool Pin |
| Literature (Installation, Instructions (Template)) |
| Safer Cooking Tips |
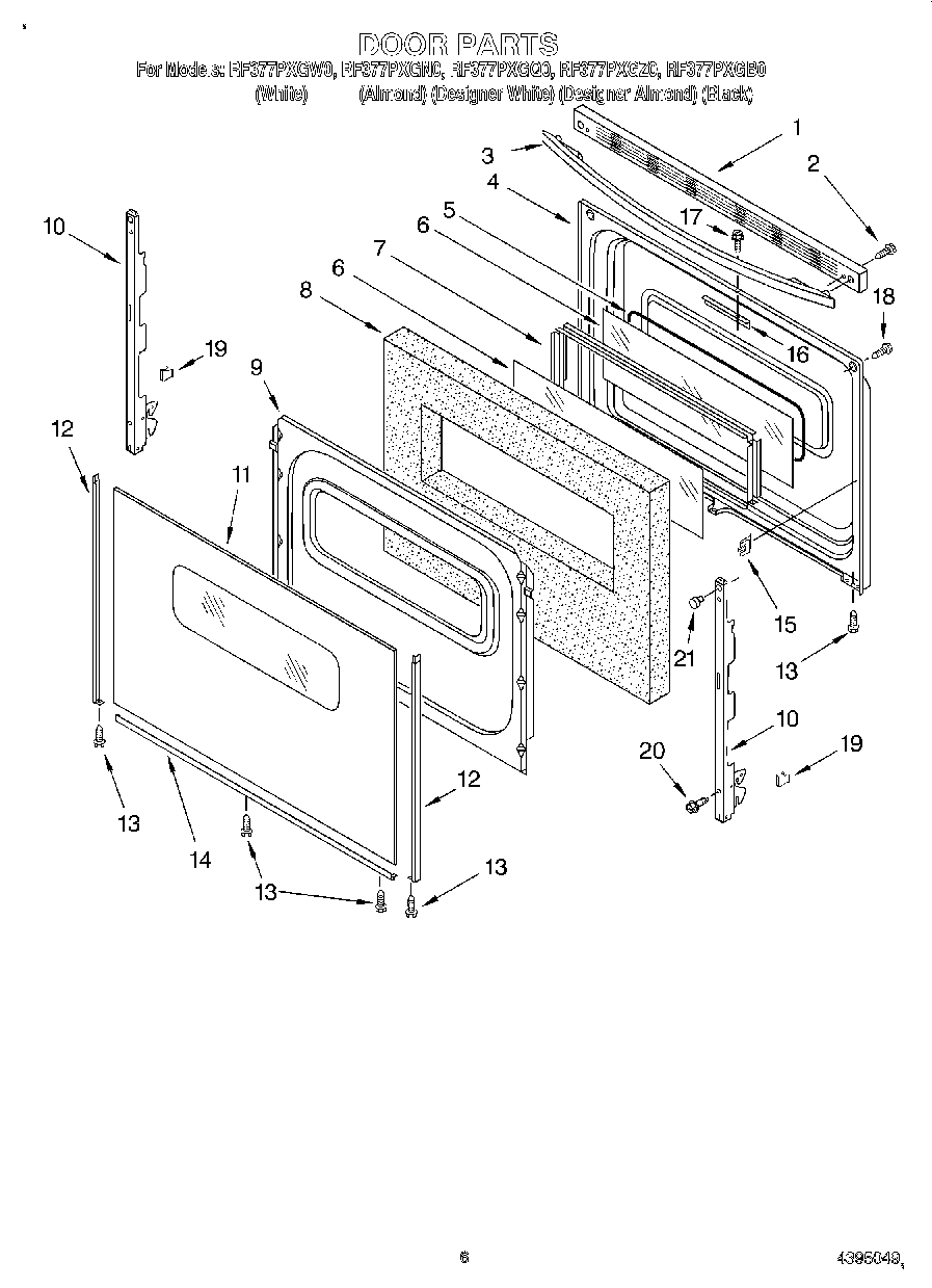
| 1 | WPW10016370 Whirlpool Door Trim |
| 1 | Trim, Door Top (Almond) |
| 1 | Trim, Top (Black) |
| 2 | WP3196164 Whirlpool Screw |
| 3 | WPW10202217 Whirlpool Door Handle |
| 3 | Handle, Door (Almond) |
| 3 | WPW10202216 Whirlpool Door Handle |
| 4 | Liner, Door |
| 5 | 8522415 Whirlpool Oven Wind Gasket |
| 6 | WP9758164 Whirlpool Door Glass |
| 7 | Frame, Glass |
| 8 | Insulation, Door |
| 9 | 9761499 Whirlpool Oven Retainer |
| 10 | WP8053807 Whirlpool Oven Door Hinge |
| 11 | WP9762477 Whirlpool Glass Door |
| 11 | Glass, Outer Door (Almond) |
| 11 | WP9762476 Whirlpool Door Glass |
| 13 | W10491985 Whirlpool Screw |
| 14 | 8184859 Whirlpool Range Oven Door Trim Kit (2 Sides, 1 Bottom) |
| 14 | 8184860 Whirlpool Oven Door Trim |
| 14 | 8184858 Whirlpool Door Trim |
| 15 | Clip, Glass (4) |
| 16 | Bracket, Latch |
| 17 | WP3400832 Whirlpool Screw |
| 18 | WP179051 Whirlpool Screw |
| 19 | WP3196925 Whirlpool Clip Assembly |
| 20 | WP3196175 Whirlpool Screw |
| 21 | 8273888A Whirlpool Range Oven Anchor Anti-Tip Bracket Kit |
| 21 | Almond (Uncut) |
| 21 | 799344 Whirlpool Refrigerator Paint |
| 21 | 350930 Whirlpool White Spray Paint |
| 21 | 350956 Whirlpool Spray Assembly |
| 21 | Wire (14 Ga. 150 c Brown) |
| 21 | 72017 Whirlpool Appliance Touch-Up Paint White |
| 21 | Enamal, Toast (1 Qt. Uncut) |
| 21 | Golden Harvest |
| 21 | WP72107 Whirlpool Touchup |
| 21 | Grease |
| 21 | Wire (14 Ga. 150 c Orange) |
| 21 | paint, spray 13 oz. (coffee) |
| 21 | Paint, Touch-Up 1/2 Oz. (Coffee) |
| 21 | 72109 Whirlpool Dacor Avocado Touch-Up Paint |
| 21 | 285006 Whirlpool Spray |
| 21 | Wire, 25`` Roll (White 14 GA.) |
| 21 | Wire, 25` Roll (Red 14 Ga.) |
| 21 | Wire, 25` Roll (Black 14 Ga.) |
| 21 | FOIL, ALUMINUM OVEN (18`` X 25 ) |
| 21 | WPW10208653 Whirlpool Insulation |
| 21 | 238614 Whirlpool Bumper Hinge |
| 21 | WPL 799832 |
| 21 | 511873 Whirlpool Refrigerator Paint |
| 21 | 350942 Whirlpool Spray Paint |
| 21 | WPL 72112 |
| 21 | Paint, Spray 13 Oz. (Avocado) |
| 21 | W10355051 Whirlpool Cooktop Cleaner Affresh (10 Oz) |
| 21 | 72110 Whirlpool Dryer Touch-Up Paint, Golden Harvest 6 Oz |
| 21 | 8212471 Whirlpool Oven Paint |
| 21 | 72113 Whirlpool Touch-Up Paint |
| 21 | 1 |
| 21 | Wire (14 Ga. 200 c Brown) |
| 21 | 18 Ga. 80~c Rating (Red) |
| 21 | Wire (12 Ga. 150 c Black) |
| 21 | Wire (14 Ga. 150 c Yellow) |
| 21 | Wire (14 Ga. 150 c Green) |
| 21 | Wire (14 Ga. 150 c Blue) |
| 21 | 242831 Whirlpool Oven Wire |
| 21 | Golden Harvest (Uncut) |
| 21 | Toast |
| 21 | Paint, Spray (13 Oz.) (Platinum) |
| 21 | Platinum (Uncut) |