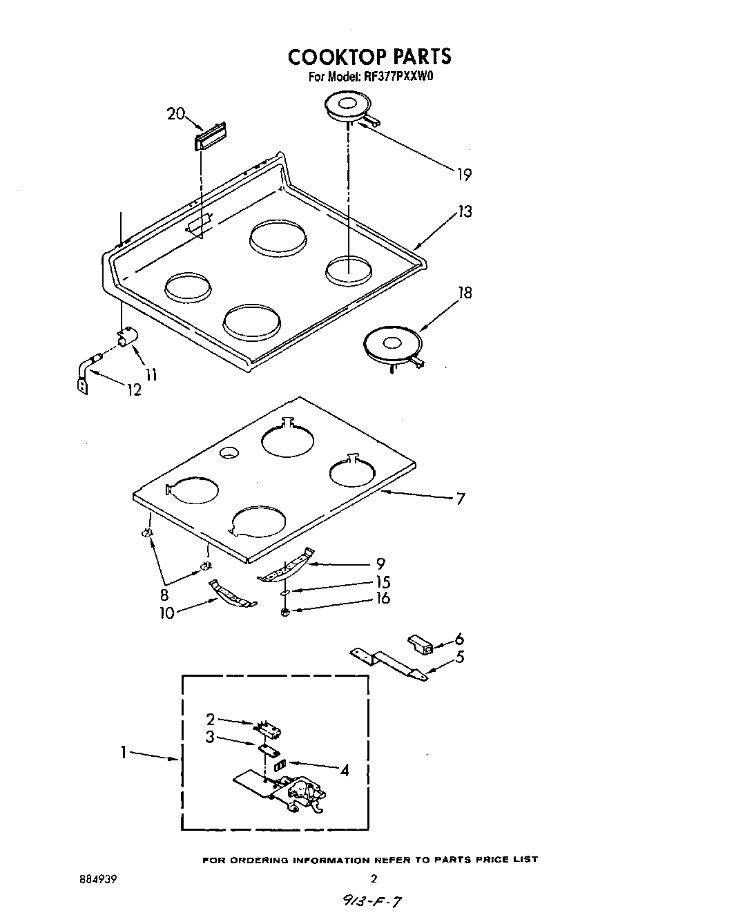
RF377PXXW0 02 – COOKTOP