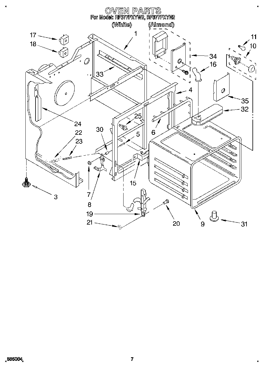
| 1 | Main Chassis (Almond) |
| 1 | Main Chassis (White) |
| 3 | WPW10058460 Whirlpool Appliance Levelling Leg |
| 4 | Front Frame |
| 4 | Screw (Top) |
| 5 | Pin, Hinge Ear (2) |
| 6 | Seal, Door |
| 7 | Pushnut (2) |
| 8 | Hinge, R.H. |
| 8 | Hinge, L.H. |
| 9 | Screw (3) |
| 9 | Oven (30`` Pyro) |
| 10 | W11594027 Whirlpool Range Oven Light Socket |
| 11 | RANGE ONLY 40W 120V APPL BULB |
| 15 | Bracket, Oven (Mounting) |
| 16 | Vent, Oven |
| 16 | Screw, 10A x 1/2 (2) (Black) |
| 17 | Sw |
| 18 | WPL 314215 |
| 18 | Switch, Bake |
| 19 | Channel, Arm (2) |
| 20 | WP307986 Whirlpool Hinge Pin |
| 21 | Retainer Ring (2) |
| 22 | WP308126 Whirlpool Door Spring |
| 23 | WP308125 Whirlpool Microwave Range/Cooktop Anchor |
| 24 | Wire Cover |
| 24 | Wire Cover-Controls (Right) |
| 25 | Switch, Door |
| 30 | Snubber, Door (2) |
| 31 | Tube, Vent |
| 32 | Box Vent |
| 32 | SCREW |
| 33 | Support, Chassis |
| 33 | WP3390631 Whirlpool Screw |
| 34 | Vent, Box |
| 34 | WP488627 Whirlpool Refrigerator Screw |
| 35 | Screw (2) |
| 35 | Shield, Vent |