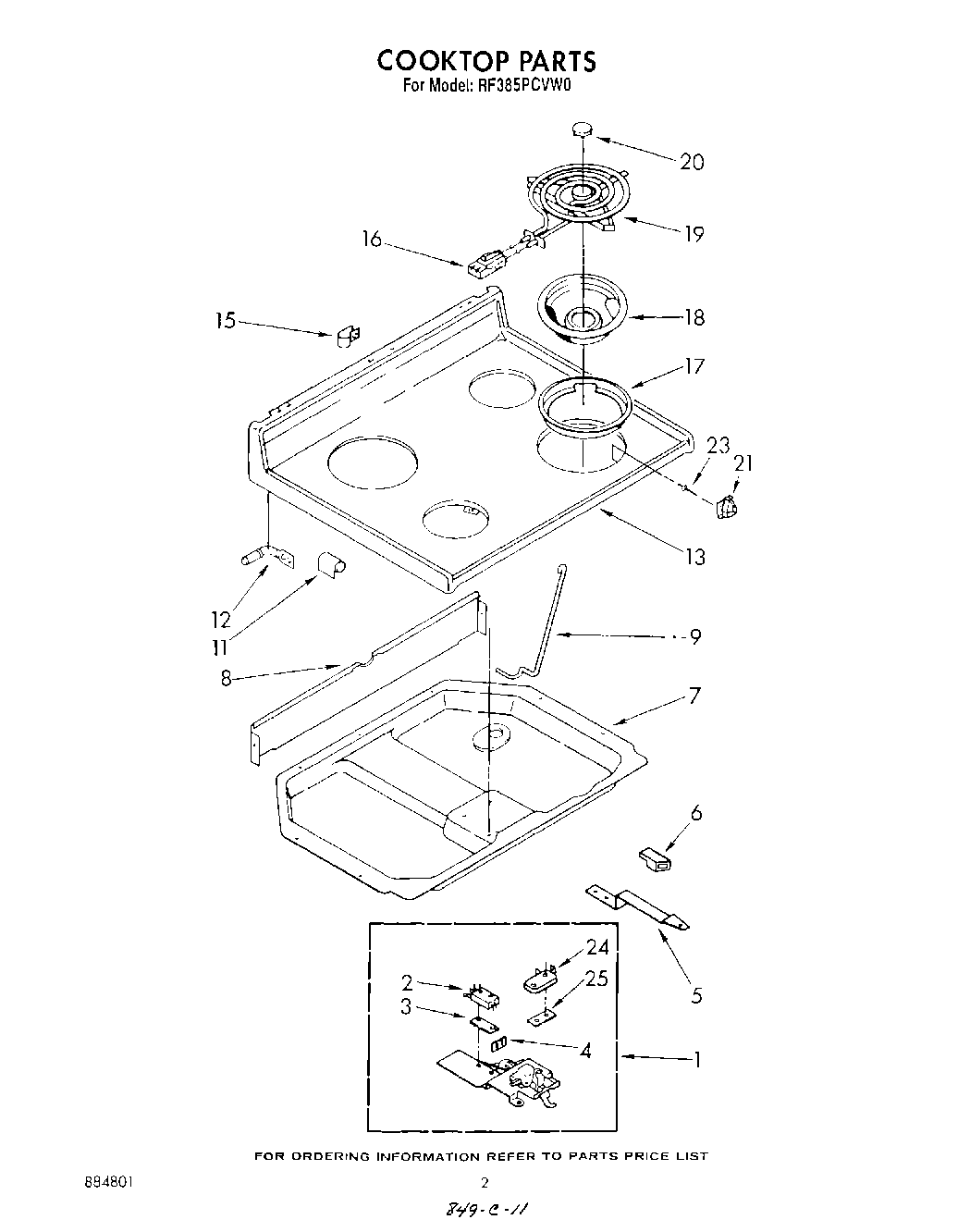
RF385PCVN0 02 – COOK TOP