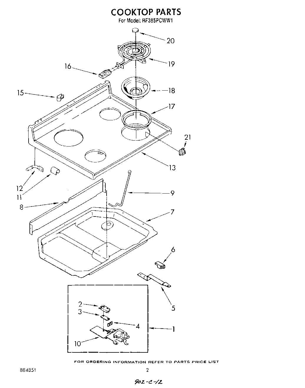
RF385PCWN1 02 – COOK TOP